Operation CHARM: Car repair manuals for everyone.
Manuals through 2025 now available!

Our trusted friends have launched a new website named LEMON, which has newer manuals. It also contains all the CHARM manuals.

LEMON is the spiritual successor to CHARM, I recommend you try it!

Link: lemon-manuals.la or lemon-manuals.org.ua

(Some people have issue connecting. LEMON is investigating. For now, use Firefox or change your DNS server)

Or, hide this message: temporarily or permanently

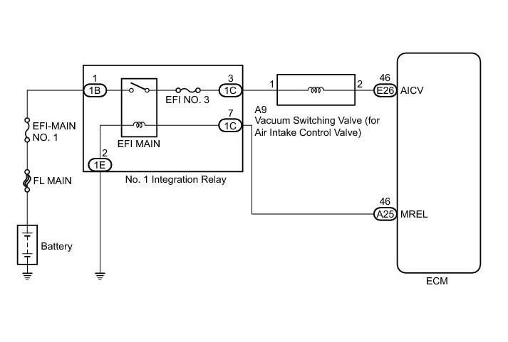
Air Intake Control Circuit





2GR-FE ENGINE CONTROL: SFI SYSTEM: Air Intake Control Circuit
- Air Intake Control Circuit

DESCRIPTION

The air cleaner is equipped with 2 inlets, one of which is opened or closed by the air intake control valve. This system reduces intake noise and increases engine power at low-to-high engine speed ranges.

When the engine is operating in the low-to-mid speed range, this control operates the air intake control valve to close one of the air cleaner inlets. When the engine speed is higher than 3600 rpm and the opening angle of the throttle valve is more than 60°, the ECM activates the vacuum switching valve (for air intake control valve) and opens the air intake control valve.





WIRING DIAGRAM





INSPECTION PROCEDURE

NOTICE:
Inspect the fuses for circuits related to this system before performing the following inspection procedure.

PROCEDURE

1. PERFORM ACTIVE TEST USING TECHSTREAM (ACTIVATE THE VSV FOR AICS)

(a) Disconnect the vacuum hose (Port F) from the vacuum switching valve (for air intake control valve).





(b) Connect the Techstream to the DLC3.

(c) Start the engine.

(d) Turn the Techstream on.

(e) Enter the following menus: Powertrain / Engine / Active Test / Activate the VSV for AICS.

(f) Check the operation of the vacuum switching valve (for air intake control valve) when the vacuum switching valve (for air intake control valve) is operated using the Techstream.

Standard:





Text in Illustration





NG -- INSPECT VACUUM SWITCHING VALVE (FOR AIR INTAKE CONTROL VALVE)

OK -- PROCEED TO NEXT SUSPECTED AREA SHOWN IN PROBLEM SYMPTOMS TABLE Symptom Related Diagnostic Procedures

2. INSPECT VACUUM SWITCHING VALVE (FOR AIR INTAKE CONTROL VALVE)

(a) Inspect the vacuum switching valve for air intake control valve Intake Air Control Valve Actuator (for Intake Air Control System).

NG -- REPLACE VACUUM SWITCHING VALVE (FOR AIR INTAKE CONTROL VALVE) Removal
OK -- Continue to next step.

3. CHECK TERMINAL VOLTAGE (POWER SOURCE OF VACUUM SWITCHING VALVE (FOR AIR INTAKE CONTROL VALVE))

(a) Disconnect the vacuum switching valve (for air intake control valve) connector.





(b) Turn the engine switch on (IG).

(c) Measure the voltage according to the value(s) in the table below.

Standard Voltage:





Text in Illustration





NG -- CHECK HARNESS AND CONNECTOR (NO. 1 INTEGRATION RELAY - VACUUM SWITCHING VALVE (FOR AIR INTAKE CONTROL VALVE))
OK -- Continue to next step.

4. CHECK HARNESS AND CONNECTOR (VACUUM SWITCHING VALVE (FOR AIR INTAKE CONTROL VALVE) - ECM)

(a) Disconnect the vacuum switching valve (for air intake control valve) connector.

(b) Disconnect the ECM connector.

(c) Measure the resistance according to the value(s) in the table below.

Standard Resistance:





NG -- REPAIR OR REPLACE HARNESS OR CONNECTOR
OK -- Continue to next step.

5. INSPECT AIR CLEANER CAP SUB-ASSEMBLY (VACUUM SURGE TANK)

(a) Inspect the vacuum surge tank Testing and Inspection.

NG -- REPAIR OR REPLACE AIR CLEANER CAP SUB-ASSEMBLY
OK -- Continue to next step.

6. CHECK VACUUM HOSES (VACUUM SWITCHING VALVE (FOR AIR INTAKE CONTROL VALVE) - AIR CLEANER CAP - AIR INTAKE CONTROL VALVE)

(a) Check the vacuum hoses between vacuum switching valve (for air intake control valve), air cleaner cap sub-assembly and air intake control valve Intake System.

NG -- REPAIR OR REPLACE VACUUM HOSE

OK -- REPLACE ECM Removal

7. CHECK HARNESS AND CONNECTOR (NO. 1 INTEGRATION RELAY - VACUUM SWITCHING VALVE (FOR AIR INTAKE CONTROL VALVE))

(a) Remove the No. 1 integration relay from the engine room relay block and junction block assembly.

(b) Disconnect the vacuum switching valve (for air intake control valve) connector.

(c) Measure the resistance according to the value(s) in the table below.

Standard Resistance:





NG -- REPAIR OR REPLACE HARNESS OR CONNECTOR

OK -- GO TO ECM POWER SOURCE CIRCUIT ECM Power Source Circuit