Operation CHARM: Car repair manuals for everyone.
Manuals through 2025 now available!

Our trusted friends have launched a new website named LEMON, which has newer manuals. It also contains all the CHARM manuals.

LEMON is the spiritual successor to CHARM, I recommend you try it!

Link: lemon-manuals.la or lemon-manuals.org.ua

(Some people have issue connecting. LEMON is investigating. For now, use Firefox or change your DNS server)

Or, hide this message: temporarily or permanently

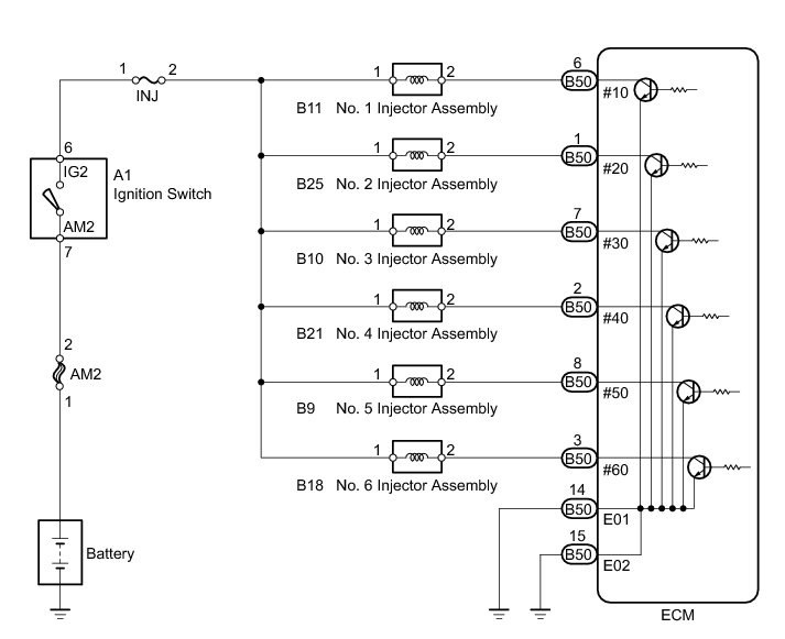
Fuel Injector Circuit





1GR-FE ENGINE CONTROL SYSTEM: SFI SYSTEM: Fuel Injector Circuit
- Fuel Injector Circuit

DESCRIPTION

The fuel injectors inject fuel based on the signals from the ECM.

WIRING DIAGRAM





INSPECTION PROCEDURE

NOTICE:
Inspect the fuses for circuits related to this system before performing the following inspection procedure.

PROCEDURE

1. INSPECT FUEL INJECTOR ASSEMBLY (POWER SOURCE)

(a) Disconnect the fuel injector connectors.





(b) Turn the ignition switch to ON.

(c) Measure the voltage according to the value(s) in the table below.

Standard Voltage:





Text in Illustration





NG -- CHECK HARNESS AND CONNECTOR (FUEL INJECTOR ASSEMBLY - IGNITION SWITCH)
OK -- Continue to next step.

2. INSPECT FUEL INJECTOR ASSEMBLY (INJECTOR RESISTANCE)





(a) Disconnect the fuel injector connectors.

(b) Measure the resistance according to the value(s) in the table below.

Standard Resistance:





Text in Illustration





NG -- REPLACE FUEL INJECTOR ASSEMBLY Removal
OK -- Continue to next step.

3. CHECK HARNESS AND CONNECTOR (FUEL INJECTOR ASSEMBLY - ECM)

(a) Disconnect the ECM connector.

(b) Disconnect the fuel injector connectors.

(c) Measure the resistance according to the value(s) in the table below.

Standard Resistance (Check for Short):





Standard Resistance (Check for Open):





NG -- REPAIR OR REPLACE HARNESS OR CONNECTOR
OK -- Continue to next step.

4. CHECK HARNESS AND CONNECTOR (ECM - BODY GROUND)

(a) Disconnect the ECM connector.

(b) Measure the resistance according to the value(s) in the table below.

Standard Resistance (Check for Open):





NG -- REPAIR OR REPLACE HARNESS OR CONNECTOR
OK -- Continue to next step.

5. INSPECT FUEL INJECTOR ASSEMBLY (INJECTION AND VOLUME)

(a) Check the fuel injector and volume Testing and Inspection.

NG -- REPLACE FUEL INJECTOR ASSEMBLY Removal

OK -- PROCEED TO NEXT SUSPECTED AREA SHOWN IN PROBLEM SYMPTOMS TABLE Symptom Related Diagnostic Procedures

6. CHECK HARNESS AND CONNECTOR (FUEL INJECTOR ASSEMBLY - IGNITION SWITCH)

(a) Disconnect the fuel injector connectors.

(b) Disconnect the ignition switch connector.

(c) Measure the resistance according to the value(s) in the table below.

Standard Resistance (Check for Short):





Standard Resistance (Check for Open):





NG -- REPAIR OR REPLACE HARNESS OR CONNECTOR

OK -- CHECK ECM POWER SOURCE CIRCUIT ECM Power Source Circuit