Operation CHARM: Car repair manuals for everyone.
Manuals through 2025 now available!

Our trusted friends have launched a new website named LEMON, which has newer manuals. It also contains all the CHARM manuals.

LEMON is the spiritual successor to CHARM, I recommend you try it!

Link: lemon-manuals.la or lemon-manuals.org.ua

(Some people have issue connecting. LEMON is investigating. For now, use Firefox or change your DNS server)

Or, hide this message: temporarily or permanently

Reassembly





AIR CONDITIONING: FRONT COOLING UNIT: REASSEMBLY

1. INSTALL HEATER RADIATOR UNIT SUB-ASSEMBLY

(a) Install the heater radiator unit sub-assembly as shown in the illustration.





2. INSTALL HEATER CLAMP

(a) Install the clamp with the screw.





(b) Engage the 3 claws to install the heater clamp.

3. INSTALL FRONT AIR OUTLET CONTROL SERVO MOTOR SUB-ASSEMBLY

(a) Check that the slots, links and gears of the front air outlet control servo motor sub-assembly are positioned in the correct orientation as shown in the illustration.





(b) Face the contact surfaces of the front air outlet control servo motor sub-assembly and air conditioning radiator assembly for the front air outlet control servo motor sub-assembly upward.

(c) Rotate the link of the air conditioning radiator assembly all the way to the left as shown in the illustration.





(d) Rotate the link of the air conditioning radiator assembly to the bottom as shown in the illustration and confirm that the mode switching duct hole is fully closed.





Text in Illustration





(e) Rotate the lever of the air conditioning radiator assembly to the top as shown in the illustration.





(f) Rotate the link of the air conditioning radiator assembly to the in-line position as shown in the illustration.





Text in Illustration





(g) Wrap the upper and lower links with vinyl tape to hold them in the in-line position.





Text in Illustration





(h) Install the link of the front air outlet control servo motor sub-assembly to the link guide pin (A) of the air conditioning radiator assembly as shown in the illustration.





Text in Illustration





(i) Install the guide hole of the front air outlet control servo motor sub-assembly to the guide pin of the air conditioning radiator assembly as shown in the illustration.

(j) Temporarily install the screw (up to 4 or 5 threads).

NOTICE:
* Make sure that the link guide pin (B) is inserted in the air conditioning radiator assembly slot.
* Avoid tilting the air conditioning radiator assembly during installation. This helps to prevent the guide pins from coming out of position.

(k) Lift the front air outlet control servo motor sub-assembly slightly to create clearance.





(l) Move the air conditioning radiator assembly gear so that alignment holes of the front air outlet control servo motor sub-assembly and air conditioning radiator assembly are aligned.





Text in Illustration





(m) Insert a screwdriver into the aligned holes as shown in the illustration.





(n) Make sure that all the links and gears are in the positions shown in the illustration.





Text in Illustration





(o) Push the loose fitting front air outlet control servo motor sub-assembly into position.





NOTICE:
* Make sure that the front air outlet control servo motor sub-assembly is fully pushed into position.
* After pushing the servo into position, keep it in place by holding it until the screws are installed.

HINT
Push the front air outlet control servo motor sub-assembly until a click sound is heard.

(p) Remove the screwdriver.

(q) Fully install the top screw, and then install the front air outlet control servo motor sub-assembly with the 2 remaining screws.





(r) Remove the vinyl tape.

4. INSTALL FRONT AIR MIX CONTROL SERVO MOTOR SUB-ASSEMBLY

(a) Using the reference point, install the air mix control servo motor sub-assembly with the 2 screws.





Text in Illustration





5. INSTALL ASPIRATOR

(a) for Manual Air Conditioning System:

(1) Engage the 2 claws to install the aspirator pipe.





(b) for Automatic Air Conditioning System:

(1) Engage the 2 claws and clamp to install the aspirator pipe.





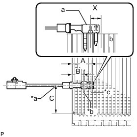
6. INSTALL NO. 1 COOLER THERMISTOR

(a) Install the No. 1 cooler thermistor as shown in the illustration.









Text in Illustration





NOTICE:
* Be sure to insert the thermistor only once because reinserting it into the same position will not allow it to be firmly secured.
* When reusing the evaporator, insert the thermistor one row next to the one that has been used previously (X in the illustration).
* After inserting the thermistor, do not apply excessive force to the wire.
* Directly insert the thermistor until the edge of plastic case "a" comes into contact with evaporator "b".

7. INSTALL NO. 1 COOLER EVAPORATOR SUB-ASSEMBLY

(a) Engage the 4 claws to install the evaporator insulator as shown in the illustration.





Text in Illustration





NOTICE:
Install the evaporator insulator to the No. 1 cooler evaporator sub-assembly after making sure that the packing is facing the front of the vehicle as shown in the illustration.

(b) Sufficiently apply compressor oil to 2 new O-rings and the fitting surfaces.

Compressor oil:

ND-OIL 8 or equivalent





(c) Install the 2 O-rings to the No. 1 cooler evaporator sub-assembly.

NOTICE:
Keep the O-rings and O-ring fitting surfaces free from dirt or any foreign objects.

(d) Engage the clamp and install the No. 1 cooler evaporator sub-assembly with the cooler thermistor.





HINT
Completely cover the tube with the grommet.

8. INSTALL COOLER EXPANSION VALVE

(a) Using a 4 mm hexagon wrench, install the cooler expansion valve with the 2 hexagon bolts.





Torque : 3.5 Nm (36 kgf-cm, 31 in-lbf)

9. INSTALL AIR CONDITIONING RADIATOR ASSEMBLY

(a) Install the air conditioning radiator assembly to the blower assembly with evaporator sub-assembly with the 6 screws.





(b) Connect each connector and engage the air conditioning harness assembly.

10. INSTALL QUICK HEATER ASSEMBLY (w/ PTC Heater)

(a) Install the quick heater assembly as shown in the illustration.





(b) Install the 3 screws.

11. INSTALL NO. 3 AIR DUCT SUB-ASSEMBLY

(a) Engage the 3 claws and install the No. 3 air duct sub-assembly as shown in the illustration.





12. INSTALL TRANSPONDER KEY ECU (w/o Smart Key System) Installation

13. INSTALL ID CODE BOX (IMMOBILISER CODE ECU) (w/ Smart Key System) Installation