Operation CHARM: Car repair manuals for everyone.
Manuals through 2025 now available!

Our trusted friends have launched a new website named LEMON, which has newer manuals. It also contains all the CHARM manuals.

LEMON is the spiritual successor to CHARM, I recommend you try it!

Link: lemon-manuals.la or lemon-manuals.org.ua

(Some people have issue connecting. LEMON is investigating. For now, use Firefox or change your DNS server)

Or, hide this message: temporarily or permanently

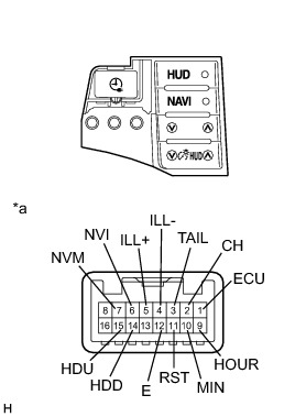
Navigation Function Selector Switch: Testing and Inspection





METER / GAUGE / DISPLAY: SATELLITE SWITCH: INSPECTION

1. INSPECT SATELLITE SWITCH SET (w/o Heads-up Display)





(a) Measure the resistance according to the value(s) in the table below.

Standard Resistance:





(b) Apply auxiliary battery voltage from the wire harness back side between the terminals of the switch, and check the lighting condition of the satellite switch set.

OK:





Text in Illustration





If the result is not as specified, replace the satellite switch set.

2. INSPECT SATELLITE SWITCH SET (w/ Heads-up Display)





(a) Measure the resistance according to the value(s) in the table below.

Standard Resistance:





(b) Apply auxiliary battery voltage from the wire harness back side between the terminals of the switch, and check the lighting condition of the satellite switch set.

OK:





Text in Illustration





If the result is not as specified, replace the satellite switch set.