Operation CHARM: Car repair manuals for everyone.
Manuals through 2025 now available!

Our trusted friends have launched a new website named LEMON, which has newer manuals. It also contains all the CHARM manuals.

LEMON is the spiritual successor to CHARM, I recommend you try it!

Link: lemon-manuals.la or lemon-manuals.org.ua

(Some people have issue connecting. LEMON is investigating. For now, use Firefox or change your DNS server)

Or, hide this message: temporarily or permanently

Cranking Holding Function Circuit





2GR-FE ENGINE CONTROL SYSTEM: SFI SYSTEM: Cranking Holding Function Circuit
- Cranking Holding Function Circuit

DESCRIPTION

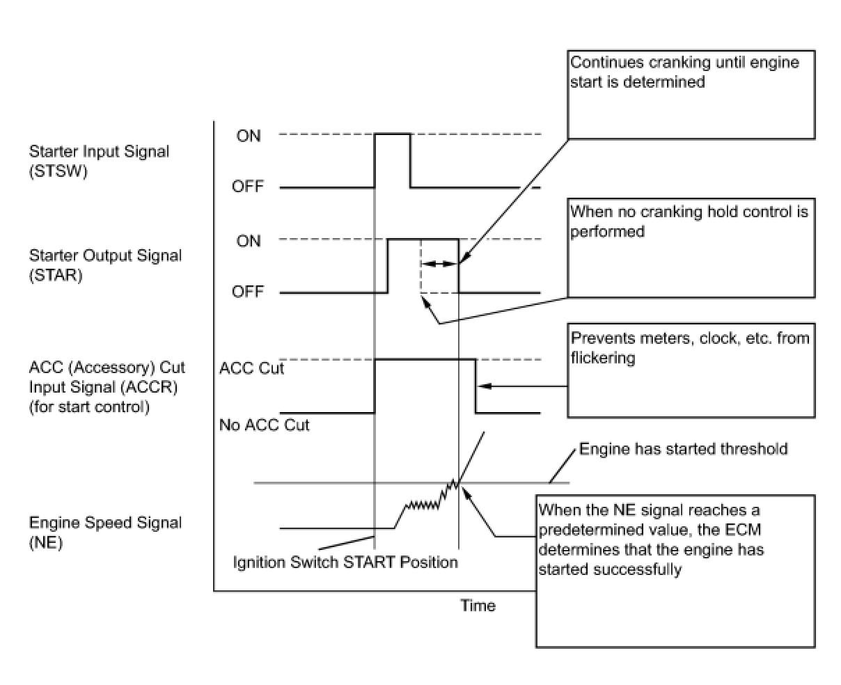
The cranking holding control system keeps energizing the ST relay after the ECM detects the starter signal (STSW signal) from the main body ECU until the ECM performs a judgment of "Engine started". Furthermore, the ECM outputs an accessory cut signal (ACCR signal) to the ACC relay during cranking to prevent flickering of the combination meter, clock, audio system, and so on.

When the ECM detects the STSW signal, the ECM outputs the starter relay drive signal (STAR signal) to the starter relay through the park/neutral position switch, and then the engine is cranked. When the ECM receives a stable engine speed signal (NE signal), more specifically, when the NE signal reaches a predetermined value, the ECM stops outputting the STAR signal. Also, the ECM monitors the ST relay operating conditions based on the STA terminal voltage status.





WIRING DIAGRAM





INSPECTION PROCEDURE

NOTICE:
Inspect the fuses for circuits related to this system before performing the following inspection procedure.

PROCEDURE

1. CHECK START SYSTEM

(a) Confirm the engine starting system.

Result





B -- PROCEED TO NEXT SUSPECTED AREA SHOWN IN PROBLEM SYMPTOMS TABLE Symptom Related Diagnostic Procedures
A -- Continue to next step.

2. CHECK CRANKING

(a) Check the cranking of the engine.

Result





B -- CHECK SMART KEY SYSTEM Engine Does Not Start

C -- PROCEED TO NEXT SUSPECTED AREA SHOWN IN PROBLEM SYMPTOMS TABLE Symptom Related Diagnostic Procedures
A -- Continue to next step.

3. INSPECT ECM (STSW TERMINAL VOLTAGE)





(a) Disconnect the A9 ECM connector.

(b) Move the shift lever to P.

(c) Measure the voltage according to the value(s) in the table below.

Standard voltage:





(d) Reconnect the ECM connector.

NG -- CHECK HARNESS AND CONNECTOR (ECM - MAIN BODY ECU)
OK -- Continue to next step.

4. CHECK HARNESS AND CONNECTOR (ECM - PARK/NEUTRAL POSITION SWITCH ASSEMBLY - MAIN BODY ECU)





(a) Remove the ST CUT relay from the No. 7 relay block.

(b) Disconnect the B30 ECM connector.

(c) Measure the resistance according to the value(s) in the table below.

Standard resistance (Check for open):





Standard resistance (Check for short):





(d) Reconnect the ECM connector.

(e) Reinstall the ST CUT relay.

NG -- REPAIR OR REPLACE HARNESS OR CONNECTOR

OK -- REPLACE ECM Removal

5. CHECK HARNESS AND CONNECTOR (ECM - MAIN BODY ECU)





(a) Disconnect the E17 main body ECU connector.

(b) Disconnect the A9 ECM connector.

(c) Measure the resistance according to the value(s) in the table below.

Standard resistance (Check for open):





Standard resistance (Check for short):





(d) Reconnect the main body ECU connector.

(e) Reconnect the ECM connector.

NG -- REPAIR OR REPLACE HARNESS OR CONNECTOR

OK -- CHECK SMART KEY SYSTEM Engine Does Not Start