Operation CHARM: Car repair manuals for everyone.
Manuals through 2025 now available!

Our trusted friends have launched a new website named LEMON, which has newer manuals. It also contains all the CHARM manuals.

LEMON is the spiritual successor to CHARM, I recommend you try it!

Link: lemon-manuals.la or lemon-manuals.org.ua

(Some people have issue connecting. LEMON is investigating. For now, use Firefox or change your DNS server)

Or, hide this message: temporarily or permanently

Reassembly





2GR-FE BATTERY / CHARGING: GENERATOR: REASSEMBLY

1. INSTALL GENERATOR ROTOR ASSEMBLY

(a) Place the drive end frame on the clutch pulley.

(b) Install the generator rotor assembly to the drive end frame.





(c) Place a new generator washer on the generator rotor assembly.





2. INSTALL GENERATOR CLUTCH PULLEY

(a) Temporarily install the clutch pulley onto the rotor shaft.

(b) Mount the generator drive end frame in a vise tightly.

(c) Assemble SST1 and 2 as shown in the illustration.





SST : 09820-63021

(d) Place the rotor shaft end into SST1.





Text in Illustration





(e) Fit SST2 to the clutch pulley.





Text in Illustration





(f) Tighten the pulley by turning SST2 in the direction shown in the illustration.





Text in Illustration





without SST - Torque : 80 Nm (816 kgf-cm, 59 ft-lbf)

with SST - Torque : 61 Nm (621 kgf-cm, 45 ft-lbf)

NOTICE:
* Use a torque wrench with a fulcrum length of 318 mm (12.52 in.).
* This torque value is effective when SST is parallel to the torque wrench.
* Check that the drive end frame is secured in the vise tightly.
* Hold SST1 tightly during the operation.

(g) Remove the generator assembly from SST.

(h) Check that the clutch pulley rotates smoothly.

(i) Install a new generator pulley cap to the clutch pulley.

3. INSTALL GENERATOR COIL ASSEMBLY

(a) Using a deep socket wrench (21 mm) and a press, slowly press in the generator coil assembly.





Text in Illustration





(b) Install the 4 bolts.





Torque : 5.9 Nm (60 kgf-cm, 52 in-lbf)

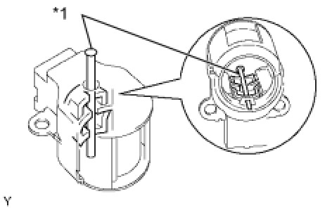
4. INSTALL GENERATOR BRUSH HOLDER ASSEMBLY

(a) While pushing the 2 brushes into the generator brush holder assembly, insert a dia1.0 mm (0.039 in.) pin into the brush holder hole.





Text in Illustration





(b) Install the brush holder assembly with the 2 screws.





Text in Illustration





Torque : 1.8 Nm (18 kgf-cm, 16 in-lbf)

(c) Pull out the pin from the generator brush holder.

5. INSTALL GENERATOR TERMINAL INSULATOR

(a) Install the terminal insulator.





NOTICE:
Pay attention to installation direction of the terminal insulator.

6. INSTALL GENERATOR REAR END COVER

(a) Install the generator rear end cover with the 3 nuts.





Torque : 4.6 Nm (47 kgf-cm, 41 in-lbf)