Operation CHARM: Car repair manuals for everyone.
Manuals through 2025 now available!

Our trusted friends have launched a new website named LEMON, which has newer manuals. It also contains all the CHARM manuals.

LEMON is the spiritual successor to CHARM, I recommend you try it!

Link: lemon-manuals.la or lemon-manuals.org.ua

(Some people have issue connecting. LEMON is investigating. For now, use Firefox or change your DNS server)

Or, hide this message: temporarily or permanently

Installation





WIPER / WASHER: WASHER LEVEL WARNING SWITCH: INSTALLATION

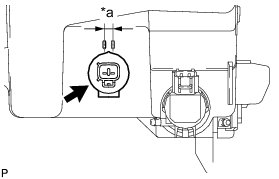
1. INSTALL WASHER LEVEL WARNING SWITCH ASSEMBLY

(a) Install the washer level warning switch onto the packing of the washer jar.





Text in Illustration





HINT
When washer level warning switch is assembled, projection should be set up within dimension A.

2. INSTALL WINDSHIELD WASHER JAR ASSEMBLY Installation

3. FILL UP WASHER JAR WITH WINDSHIELD WASHER FLUID Installation

4. INSTALL FRONT BUMPER COVER

Installation