Operation CHARM: Car repair manuals for everyone.
Manuals through 2025 now available!

Our trusted friends have launched a new website named LEMON, which has newer manuals. It also contains all the CHARM manuals.

LEMON is the spiritual successor to CHARM, I recommend you try it!

Link: lemon-manuals.la or lemon-manuals.org.ua

(Some people have issue connecting. LEMON is investigating. For now, use Firefox or change your DNS server)

Or, hide this message: temporarily or permanently

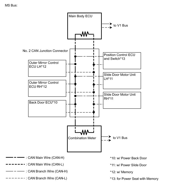
System Diagram





NETWORKING: CAN COMMUNICATION SYSTEM: SYSTEM DIAGRAM









* *1: w/ Smart Key System

* *2: w/o Smart Key System

* *3: w/ VDIM

* *4: for AWD

* *5: w/ Dynamic Radar Cruise Control System

* *6: w/ HID Headlight System

* *7: w/ Pre-collision System

* *8: w/ Parking Assist Monitor System

* *9: w/ Intuitive Parking Assist System

* *10: w/ Power Back Door

* *11: w/ Power Slide Door

* *12: w/ Memory

* *13: for Power Seat with Memory





















HINT
The skid control ECU detects and stores steering sensor and yaw rate sensor DTCs and performs DTC communication by receiving information from the steering sensor and yaw rate sensor.