Operation CHARM: Car repair manuals for everyone.
Manuals through 2025 now available!

Our trusted friends have launched a new website named LEMON, which has newer manuals. It also contains all the CHARM manuals.

LEMON is the spiritual successor to CHARM, I recommend you try it!

Link: lemon-manuals.la or lemon-manuals.org.ua

(Some people have issue connecting. LEMON is investigating. For now, use Firefox or change your DNS server)

Or, hide this message: temporarily or permanently

Active Control Engine Mount System





2GR-FE ENGINE CONTROL: SFI SYSTEM: Active Control Engine Mount System
- Active Control Engine Mount System

DESCRIPTION

The active control engine mount system decreases engine vibration at a low engine speed using the duty vacuum switching valve. The duty vacuum switching valve is controlled by a pulse signal transmitted to the duty vacuum switching valve from the ECM. The frequency of this pulse signal is matched to the engine speed to decrease engine vibration.

LOCATION





WIRING DIAGRAM





INSPECTION PROCEDURE

NOTICE:
Inspect the fuses for circuits related to this system before performing the following inspection procedure.

PROCEDURE

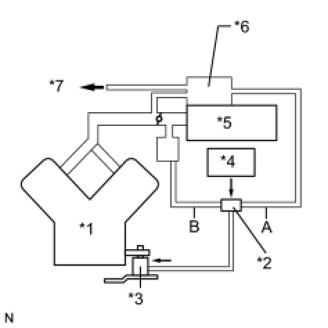
1. CHECK VACUUM HOSES

(a) If the hose is damaged, replace the vacuum hose assembly.





(b) Check the air and vacuum hoses for looseness, disconnection and blockage.

Text in Illustration





NG -- REPAIR OR REPLACE VACUUM HOSES
OK -- Continue to next step.

2. CHECK VACUUM

(a) Start the engine.





(b) Disconnect the vacuum hose from the air cleaner cap.

(c) Check that the disconnected port located on the vacuum tank applies suction to your finger.

OK:

Vacuum pressure exists.

(d) Reconnect the vacuum hose.

NG -- CHECK AND REPLACE VACUUM SOURCE AND HOSES
OK -- Continue to next step.

3. INSPECT DUTY VACUUM SWITCHING VALVE (OPERATION)

(a) Remove the duty vacuum switching valve.





(b) Check operation of the duty vacuum switching valve when battery voltage is applied to the terminals of the duty vacuum switching valve connector.

Positive battery voltage is not applied:

The air from pipe G is flowing out through pipes E and H.

Positive battery voltage is applied:

The air from pipe F is flowing out through pipes E and H.

(c) Reinstall the duty vacuum switching valve.

NG -- REPLACE DUTY VACUUM SWITCHING VALVE Removal
OK -- Continue to next step.

4. INSPECT DUTY VACUUM SWITCHING VALVE (RESISTANCE)

(a) Disconnect the duty vacuum switching valve connector.





(b) Measure the resistance according to the value(s) in the table below.

Standard Resistance:





Text in Illustration





(c) Reconnect the duty vacuum switching valve connector.

NG -- REPLACE DUTY VACUUM SWITCHING VALVE Removal
OK -- Continue to next step.

5. INSPECT FRONT ENGINE MOUNTING INSULATOR ASSEMBLY

(a) Disconnect the vacuum hose from the front engine mount insulator assembly.





(b) Using a vacuum pump, apply vacuum of 80 kPa (600 mmHg, 25 in.Hg) and wait for 1 minute.

(c) Check that there is no change in the needle movement of the vacuum pump gauge.

(d) Check that there is no fluid leakage caused by a break in the diaphragm.

OK:

Vacuum pressure exists.

(e) Reconnect the vacuum hose.

NG -- REPLACE FRONT ENGINE MOUNTING INSULATOR ASSEMBLY Removal
OK -- Continue to next step.

6. INSPECT DUTY VACUUM SWITCHING VALVE (POWER SOURCE VOLTAGE)

(a) Disconnect the duty vacuum switching valve connector.





(b) Turn the ignition switch to ON.

(c) Measure the voltage according to the value(s) in the table below.

Standard Voltage:





Text in Illustration





(d) Reconnect the duty vacuum switching valve connector.

NG -- CHECK HARNESS AND CONNECTOR (DUTY VACUUM SWITCHING VALVE - ENGINE ROOM JUNCTION BLOCK)
OK -- Continue to next step.

7. CHECK HARNESS AND CONNECTOR (DUTY VACUUM SWITCHING VALVE - ECM)

(a) Disconnect the duty vacuum switching valve connector.

(b) Disconnect the ECM connector.

(c) Measure the resistance according to the value(s) in the table below.

Standard Resistance (Check for Open):





Standard Resistance (Check for Short):





(d) Reconnect the ECM connector.

(e) Reconnect the duty vacuum switching valve connector.

NG -- REPAIR OR REPLACE HARNESS OR CONNECTOR (DUTY VACUUM SWITCHING VALVE - ECM)

OK -- REPLACE ECM Removal

8. CHECK HARNESS AND CONNECTOR (DUTY VACUUM SWITCHING VALVE - ENGINE ROOM JUNCTION BLOCK)

(a) Disconnect the duty vacuum switching valve connector.

(b) Remove the engine room junction block assembly from the engine room relay block.

(c) Disconnect the engine room junction block assembly connector.

(d) Measure the resistance according to the value(s) in the table below.

Standard Resistance (Check for Open):





Standard Resistance (Check for Short):





(e) Reconnect the engine room junction block assembly connector.

(f) Reinstall the engine room junction block assembly.

(g) Reconnect the duty vacuum switching valve connector.

NG -- REPAIR OR REPLACE HARNESS OR CONNECTOR (DUTY VACUUM SWITCHING VALVE - ENGINE ROOM JUNCTION BLOCK)

OK -- GO TO ECM POWER SOURCE CIRCUIT ECM Power Source Circuit