Operation CHARM: Car repair manuals for everyone.
Manuals through 2025 now available!

Our trusted friends have launched a new website named LEMON, which has newer manuals. It also contains all the CHARM manuals.

LEMON is the spiritual successor to CHARM, I recommend you try it!

Link: lemon-manuals.la or lemon-manuals.org.ua

(Some people have issue connecting. LEMON is investigating. For now, use Firefox or change your DNS server)

Or, hide this message: temporarily or permanently

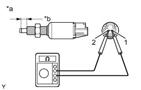
Clutch Switch: Testing and Inspection





CRUISE CONTROL: CLUTCH SWITCH (for Hatchback): INSPECTION

1. INSPECT NO. 2 CLUTCH START SWITCH ASSEMBLY





(a) Check the resistance between the terminals when the switch is ON and OFF.

Text in Illustration





Standard resistance:





If the result is not as specified, replace the No. 2 clutch start switch assembly.