Operation CHARM: Car repair manuals for everyone.
Manuals through 2025 now available!

Our trusted friends have launched a new website named LEMON, which has newer manuals. It also contains all the CHARM manuals.

LEMON is the spiritual successor to CHARM, I recommend you try it!

Link: lemon-manuals.la or lemon-manuals.org.ua

(Some people have issue connecting. LEMON is investigating. For now, use Firefox or change your DNS server)

Or, hide this message: temporarily or permanently

Installation (from 07/2011)





POWER DISTRIBUTION: MAIN BODY ECU (for Hatchback): INSTALLATION

1. INSTALL MAIN BODY ECU

NOTICE:
* Make sure that there is no foreign matter in the engaging part.
* Do not touch the connector.

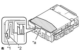
(a) Contact the main body ECU guide against the housing side wall.





Text in Illustration





HINT
The angle between the junction block and the main body ECU guide should be 20° or more.

(b) While aligning the guide with the housing side wall, slide the main body ECU toward the fuse area of the instrument panel junction block.





Text in Illustration





(c) Slide the main body ECU until it contacts the A surface.





NOTICE:
* Slide the main body ECU gently.
* Do not apply strong impact to the side of the main body ECU.

Text in Illustration





(d) Rotate the main body ECU while holding it against the junction block A surface (axis of rotation).





Text in Illustration





(e) Rotate the main body ECU until it engages with the lock to install it.





Text in Illustration





NOTICE:
* When pressing the main body ECU, press the push area as shown in the illustration.
* A lock sound will be heard when the main body ECU is engaged.
* Do not hit or weight the main body ECU when it engages with the instrument panel junction block.

HINT
If a lock sound is not heard, visually check the lock engagement. Check that the height of the main body ECU and instrument panel junction block match.

2. INSTALL JUNCTION BLOCK BRACKET

(a) Engage the claw and install the junction block bracket.





3. INSTALL JUNCTION BLOCK BRACKET

(a) Engage the claw and install the junction block bracket.





4. INSTALL INSTRUMENT PANEL JUNCTION BLOCK ASSEMBLY

(a) Connect the back side connector B indicated as shown in the illustration.





(b) Slide the lever by the arrow indicated as shown in the illustration.

Text in Illustration





(c) Connect the back side connector A indicated as shown in the illustration.





(d) Engage the claw, 2 clamps and install the instrument panel junction block.

(e) Tighten the 2 bolts.

Torque : 8.4 Nm (86 kgf-cm, 74 in-lbf)

(f) Connect the main body ECU connector.

(g) Connect the connectors to front side of the instrument panel junction block.

(h) Engage the clamps.

5. INSTALL INSTRUMENT PANEL WIRE

(a) Engage the clamp and install the instrument panel wire.

(b) Tighten the screw.

6. INSTALL LOWER NO. 2 INSTRUMENT PANEL FINISH PANEL Installation (from 07/2011)

7. INSTALL UPPER INSTRUMENT PANEL SUB-ASSEMBLY

Installation (from 07/2011)