Operation CHARM: Car repair manuals for everyone.
Manuals through 2025 now available!

Our trusted friends have launched a new website named LEMON, which has newer manuals. It also contains all the CHARM manuals.

LEMON is the spiritual successor to CHARM, I recommend you try it!

Link: lemon-manuals.la or lemon-manuals.org.ua

(Some people have issue connecting. LEMON is investigating. For now, use Firefox or change your DNS server)

Or, hide this message: temporarily or permanently

Cylinder Head Assembly

CYLINDER HEAD SUB-ASSEMBLY

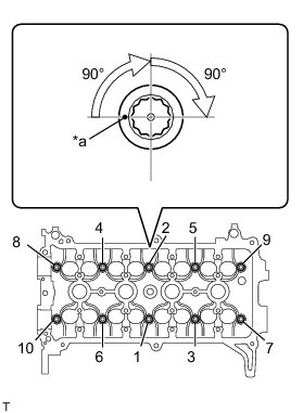
The cylinder head bolts are tightened in 2 successive steps.






Using several steps, tighten the 10 cylinder head bolts and 10 plate washers uniformly with an 8 mm bi-hexagon wrench in the sequence shown in the illustration.

Torque 29 Nm (300 kgf-cm, 22 ft-lbf)

Mark the front side of the cylinder head bolts with paint.






Text in Illustration






Retighten the cylinder head bolts an additional 90°, and then once more 90° as shown in the illustration.
Check that the paint mark is now at a 180° angle to the front.

SURFACE VARIATION






CAMSHAFT

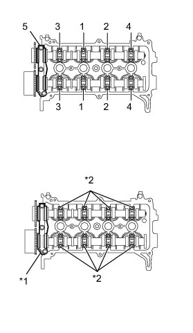
Uniformly tighten the bolts in several steps in the sequence shown in the illustration and install No. 1 camshaft bearing cap and No. 2 camshaft bearing cap.






Text in Illustration






No. 1 Camshaft bearing cap - Torque 23 Nm (235 kgf-cm, 17 ft-lbf)

No. 2 Camshaft bearing cap - Torque 13 Nm (129 kgf-cm, 9 ft-lbf)


CAMSHAFT

Place the camshaft on the cylinder head with the timing mark on the camshaft timing gear facing upward.

Examine the front marks and numbers and tighten the bolts in the sequence shown in the illustration.






Torque 13 Nm (129 kgf-cm, 9 ft-lbf)

NO. 2 CAMSHAFT

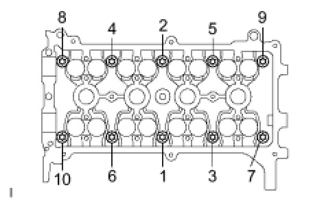
Examine the front marks and numbers on the No. 1 and No. 2 camshaft bearing caps and check that the order is as shown in the illustration. Then uniformly tighten the bolts, in several steps, in the sequence shown in the illustration.






Text in Illustration






No. 2 bearing cap - Torque 13 Nm (129 kgf-cm, 9 ft-lbf)

No. 1 bearing cap - Torque 23 Nm (235 kgf-cm, 17 ft-lbf)


INTAKE MANIFOLD TORQUE & SEQUENCE Specifications

EXHAUST MANIFOLD TORQUE & SEQUENCE Specifications

CAMSHAFT GEAR/SPROCKET TORQUE Specifications