Operation CHARM: Car repair manuals for everyone.
Manuals through 2025 now available!

Our trusted friends have launched a new website named LEMON, which has newer manuals. It also contains all the CHARM manuals.

LEMON is the spiritual successor to CHARM, I recommend you try it!

Link: lemon-manuals.la or lemon-manuals.org.ua

(Some people have issue connecting. LEMON is investigating. For now, use Firefox or change your DNS server)

Or, hide this message: temporarily or permanently

Alternator: Testing and Inspection





1NZ-FE BATTERY / CHARGING: GENERATOR (for Hatchback): INSPECTION

1. INSPECT GENERATOR BRUSH HOLDER ASSEMBLY

(a) Using a vernier caliper, measure the length of the exposed brushes.





Text in Illustration





Standard exposed length:

9.5 to 11.5 mm (0.374 to 0.453 in.)

Minimum exposed length:

4.5 mm (0.177 in.)

If the exposed length is less than the minimum, replace the generator brush holder assembly.

2. INSPECT GENERATOR ROTOR ASSEMBLY





(a) Check the generator rotor for open circuits.

(1) Measure the resistance according to the value(s) in the table below.

Standard Resistance:





Text in Illustration





If the resistance is not as specified, replace the generator rotor assembly.

(b) Check the generator rotor for short circuits.





(1) Measure the resistance according to the value(s) in the table below.

Standard Resistance:





Text in Illustration





If the result is not as specified, replace the generator rotor assembly.

(c) Check that the generator rotor bearing is not rough or worn.

If necessary, replace the generator rotor assembly.





(d) Using a vernier caliper, measure the slip ring diameter.





Standard diameter:

14.2 to 14.8 mm (0.559 to 0.583 in.)

Minimum diameter:

14.0 mm (0.551 in.)

Text in Illustration





If the diameter is less than the minimum, replace the generator rotor assembly.

(e) Check that the slip rings are not rough or scored.





If rough or scored, replace the generator rotor assembly.

3. INSPECT GENERATOR DRIVE END FRAME ASSEMBLY





(a) Inspect the stator coil for open circuits.

(1) Measure the resistance according to the value(s) in the table below.

Standard Resistance:





Text in Illustration





If the result is not as specified, replace the generator assembly.

(b) Inspect the stator coil for ground.





(1) Measure the resistance according to the value(s) in the table below.

Standard Resistance:





Text in Illustration





If the result is not as specified, replace the generator assembly.

(c) Inspect the generator drive end frame bearing.





(1) Check that the bearing is not rough or worn.

If necessary, replace the generator assembly.

4. INSPECT GENERATOR HOLDER WITH RECTIFIER





(a) Check the resistance.

(1) Measure the resistance according to the value(s) in the table below.

Standard Resistance:





If the result is not as specified, replace the generator holder with rectifier.

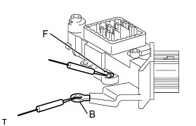
5. INSPECT GENERATOR REGULATOR ASSEMBLY

(a) Check the resistance.

(1) Measure the resistance according to the value(s) in the table below.





Standard Resistance:





If the result is not as specified, replace the generator regulator assembly.

(2) Measure the resistance according to the value(s) in the table below.





Standard Resistance:





If the result is not as specified, replace the generator regulator assembly.