Operation CHARM: Car repair manuals for everyone.
Manuals through 2025 now available!

Our trusted friends have launched a new website named LEMON, which has newer manuals. It also contains all the CHARM manuals.

LEMON is the spiritual successor to CHARM, I recommend you try it!

Link: lemon-manuals.la or lemon-manuals.org.ua

(Some people have issue connecting. LEMON is investigating. For now, use Firefox or change your DNS server)

Or, hide this message: temporarily or permanently

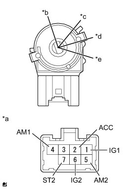
Ignition Switch: Testing and Inspection





1NZ-FE STARTING: IGNITION SWITCH (for Hatchback): INSPECTION

1. INSPECT IGNITION OR STARTER SWITCH ASSEMBLY

(a) Check the resistance.





(1) Measure the resistance according to the value(s) in the table below.

Standard Resistance:





If the result is not as specified, replace the ignition or starter switch assembly.

Text in Illustration