Operation CHARM: Car repair manuals for everyone.
Manuals through 2025 now available!

Our trusted friends have launched a new website named LEMON, which has newer manuals. It also contains all the CHARM manuals.

LEMON is the spiritual successor to CHARM, I recommend you try it!

Link: lemon-manuals.la or lemon-manuals.org.ua

(Some people have issue connecting. LEMON is investigating. For now, use Firefox or change your DNS server)

Or, hide this message: temporarily or permanently

Power Window Master Switch (for Hatchback)





WINDOW / GLASS: POWER WINDOW MASTER SWITCH (for Hatchback): INSPECTION

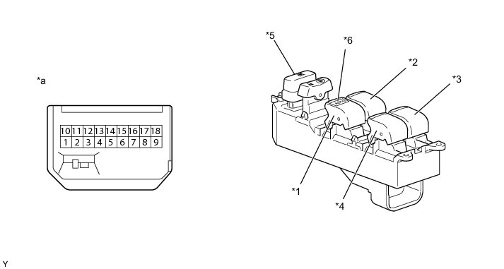
1. INSPECT POWER WINDOW REGULATOR MASTER SWITCH ASSEMBLY (w/ Rear Power Window)

(a) Measure the resistance according to the value(s) in the table below.





Text in Illustration





Standard Resistance:

Driver Switch





Standard Resistance:

Passenger Side Switch





Standard Resistance:

Rear RH Side Switch





Standard Resistance:

Rear LH Side Switch





If the result is not as specified, replace the power window regulator master switch assembly.

(b) Apply battery voltage to the power window regulator master switch and check that the illumination comes on.

OK:





If the result is not as specified, replace the power window regulator master switch assembly.

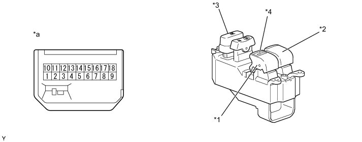
2. INSPECT POWER WINDOW REGULATOR MASTER SWITCH ASSEMBLY (w/o Rear Power Window)

(a) Measure the resistance according to the value(s) in the table below.





Text in Illustration





Standard Resistance:

Driver Switch





Standard Resistance:

Passenger Side Switch





If the result is not as specified, replace the power window regulator master switch assembly.

(b) Apply battery voltage to the power window regulator master switch and check that the illumination comes on.

OK:





If the result is not as specified, replace the power window regulator master switch assembly.