Operation CHARM: Car repair manuals for everyone.
Manuals through 2025 now available!

Our trusted friends have launched a new website named LEMON, which has newer manuals. It also contains all the CHARM manuals.

LEMON is the spiritual successor to CHARM, I recommend you try it!

Link: lemon-manuals.la or lemon-manuals.org.ua

(Some people have issue connecting. LEMON is investigating. For now, use Firefox or change your DNS server)

Or, hide this message: temporarily or permanently

Part 2





1NZ-FE ENGINE CONTROL: SFI SYSTEM (for Sedan): EVAP System
- EVAP System - (Continued)

15. CHECK HARNESS AND CONNECTOR (CANISTER PUMP MODULE - BODY GROUND)

(a) Disconnect the canister pump module connector.

(b) Measure the resistance according to the value(s) in the table below.

Result





B -- REPAIR OR REPLACE HARNESS OR CONNECTOR
A -- Continue to next step.

16. CHECK HARNESS AND CONNECTOR (ECM - CANISTER PUMP MODULE)

(a) Disconnect the canister pump module connector.

(b) Disconnect the ECM connector.

(c) Measure the resistance according to the value(s) in the table below.

Result





A -- REPLACE CANISTER ASSEMBLY

B -- REPAIR OR REPLACE HARNESS OR CONNECTOR

17. PERFORM ACTIVE TEST USING TECHSTREAM (PURGE VSV)

(a) Enter the following menus: Powertrain / Engine and ECT / Active Test / Activate the VSV for EVAP Control.

(b) Disconnect the hose (connected to the canister) from the purge VSV.





Text in Illustration





(c) Start the engine.

(d) Using the Techstream, turn off the purge VSV (Activate the VSV for Evap Control: OFF).

(e) Use your finger to confirm that the purge VSV has no suction.

(f) Using the Techstream, turn on the purge VSV (Activate the VSV for Evap Control: ON).

(g) Use your finger to confirm that the purge VSV has suction.

Result





B -- CHECK FUEL CAP ASSEMBLY

C -- INSPECT PURGE VSV

D -- CHECK EVAP HOSE (PURGE VSV - INTAKE MANIFOLD)
A -- Continue to next step.

18. INSPECT EVAP HOSE (PURGE VSV - CANISTER)

(a) Check for blockages in the EVAP purge line between the purge VSV and canister.

OK:

No blockages in the EVAP purge line between the purge VSV and canister.

NG -- REPAIR OR REPLACE EVAP PURGE LINE (PURGE VSV - CANISTER)
OK -- Continue to next step.

19. INSPECT CANISTER (CHARCOAL FILTER INSIDE CANISTER)

(a) Check for filter blockage in the canister Testing and Inspection.

OK:

No blockages in the canister.

OK -- REPLACE ECM

NG -- REPLACE CANISTER ASSEMBLY

20. CHECK FUEL CAP ASSEMBLY

(a) Check that the fuel cap is correctly installed and confirm that the fuel cap meets OEM specifications.

(b) Tighten the fuel cap firmly (only one click sound could be heard).

HINT
If an EVAP tester is available, check the fuel cap using the Techstream.

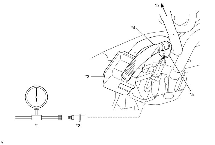
(1) Remove the fuel cap and install it onto a fuel cap adapter.

(2) Connect an EVAP tester pump hose to the adapter, and pressurize the cap to 3.2 to 3.7 kPa(gauge) [24 to 28 mmHg(gauge)] using an EVAP tester pump.

(3) Seal the adapter and wait for 2 minutes.

(4) Check the pressure. If the pressure is 2 kPa(gauge) [15 mmHg(gauge)] or more, the fuel cap is normal.

Result





A -- LOCATE EVAP LEAK PART

B -- CORRECTLY REINSTALL OR REPLACE FUEL TANK CAP ASSEMBLY

C -- REPLACE FUEL TANK CAP ASSEMBLY

21. INSPECT PURGE VSV

(a) Turn the ignition switch off.

(b) Disconnect the purge VSV connector.





Text in Illustration





(c) Disconnect the hose (connected to the canister) from the purge VSV.

(d) Start the engine.

(e) Use your finger to confirm that the purge VSV has no suction.

Result





A -- CHECK HARNESS AND CONNECTOR (PURGE VSV - ECM)

B -- REPLACE PURGE VSV

22. INSPECT EVAP HOSE (PURGE VSV - CANISTER)

(a) Check for blockages in the EVAP purge line between the purge VSV and canister.

OK:

No blockages in the EVAP purge line between the purge VSV and canister.

NG -- REPAIR OR REPLACE EVAP PURGE LINE (PURGE VSV - CANISTER)
OK -- Continue to next step.

23. CHECK EVAP HOSE (PURGE VSV - INTAKE MANIFOLD)

(a) Disconnect the hose (connected to the intake manifold) from the purge VSV.





Text in Illustration





(b) Start the engine.

(c) Use your finger to confirm that the hose has suction.

Result





B -- INSPECT INTAKE MANIFOLD (EVAP PURGE PORT)
A -- Continue to next step.

24. INSPECT PURGE VSV

(a) Remove the purge VSV.

(b) Apply battery voltage to the terminals of the purge VSV.





Text in Illustration





(c) Confirm that air flows from port E to port F.

Result





B -- REPLACE PURGE VSV
A -- Continue to next step.

25. CHECK TERMINAL VOLTAGE (POWER SOURCE OF PURGE VSV)

(a) Disconnect the purge VSV connector.

(b) Turn the ignition switch to ON.





Text in Illustration





(c) Measure the voltage according to the value(s) in the table below.

Result





B -- REPAIR OR REPLACE HARNESS OR CONNECTOR
A -- Continue to next step.

26. CHECK HARNESS AND CONNECTOR (PURGE VSV - ECM)

(a) Disconnect the ECM connector.

(b) Disconnect the purge VSV connector.

(c) Measure the resistance according to the value(s) in the table below.

Standard Resistance:





OK -- REPLACE ECM

NG -- REPAIR OR REPLACE HARNESS OR CONNECTOR

27. INSPECT CANISTER PUMP MODULE (POWER SOURCE FOR VENT VALVE)

(a) Turn the ignition switch off.





Text in Illustration





(b) Disconnect the canister pump module connector.

(c) Turn the ignition switch to ON.

(d) Measure the voltage according to the value(s) in the table below.

Result





B -- REPAIR OR REPLACE HARNESS OR CONNECTOR
A -- Continue to next step.

28. INSPECT CANISTER PUMP MODULE (VENT VALVE OPERATION)

(a) Turn the ignition switch off.

(b) Disconnect the canister pump module connector.





Text in Illustration





(c) Apply the battery voltage to terminals VLVB and VGND of the pump module.

(d) Touch the canister pump module to confirm the vent valve operation.

Result





B -- REPLACE CANISTER ASSEMBLY
A -- Continue to next step.

29. CHECK HARNESS AND CONNECTOR (CANISTER PUMP MODULE - ECM)

(a) Turn the ignition switch off.

(b) Disconnect the canister pump module connector.

(c) Measure the resistance according to the value(s) in the table below.

Result





B -- REPAIR OR REPLACE HARNESS OR CONNECTOR
A -- Continue to next step.

30. INSPECT CANISTER (CHARCOAL FILTER INSIDE CANISTER)

(a) Check for filter blockage in the canister Testing and Inspection.

OK:

No blockages in the canister.

OK -- REPLACE ECM

NG -- REPLACE CANISTER ASSEMBLY

31. PERFORM ACTIVE TEST USING TECHSTREAM (ACTIVATE THE VACUUM PUMP)

(a) Turn the ignition switch off.

(b) Disconnect the canister pump module connector.





Text in Illustration





(c) Turn the ignition switch to ON.

(d) Enter the following menus: Powertrain / Engine and ECT / Active Test / Activate the Vacuum Pump.

(e) Measure the voltage according to the value(s) in the table below.

Result





B -- CHECK HARNESS AND CONNECTOR (ECM - CANISTER PUMP MODULE)

C -- REPLACE ECM
A -- Continue to next step.

32. CHECK HARNESS AND CONNECTOR (CANISTER PUMP MODULE - BODY GROUND)

(a) Turn the ignition switch off.

(b) Disconnect the canister pump module connector.

(c) Measure the resistance according to the value(s) in the table below.

Result





A -- REPLACE CANISTER ASSEMBLY

B -- REPAIR OR REPLACE HARNESS OR CONNECTOR

33. CHECK HARNESS AND CONNECTOR (ECM - CANISTER PUMP MODULE)

(a) Turn the ignition switch off.

(b) Disconnect the canister pump module connector.

(c) Disconnect the ECM connector.

(d) Measure the resistance according to the value(s) in the table below.

Standard Resistance:





Result





A -- REPLACE ECM

B -- REPAIR OR REPLACE HARNESS OR CONNECTOR

34. INSPECT INTAKE MANIFOLD (EVAP PURGE PORT)

(a) Stop the engine.

(b) Disconnect the EVAP hose from the intake manifold.

(c) Start the engine.

(d) Use your finger to confirm that the port of the intake manifold has suction.

Result





A -- REPAIR OR REPLACE EVAP PURGE LINE (INTAKE MANIFOLD - PURGE VSV)

B -- INSPECT INTAKE MANIFOLD (EVAP PURGE PORT)

35. CORRECTLY REINSTALL OR REPLACE FUEL TANK CAP ASSEMBLY

HINT
* When reinstalling the fuel cap, tighten it firmly (only one click sound could be heard).
* When replacing the fuel cap, use a fuel cap that meets OEM specifications, and install it firmly.

NEXT -- PERFORM EVAP SYSTEM CHECK (AUTOMATIC MODE)

36. REPLACE FUEL TANK CAP ASSEMBLY

HINT
When installing the fuel cap, tighten it firmly (only one click sound could be heard).

NEXT -- PERFORM EVAP SYSTEM CHECK (AUTOMATIC MODE)

37. LOCATE EVAP LEAK PART

(a) Disconnect the vent hose.

(b) Connect the EVAP pressure tester tool to the vent hose with the adapter.





Text in Illustration





(c) Pressurize the EVAP system to 3.2 to 3.7 kPa(gauge) [24 to 28 mmHg(gauge)].

(d) Apply soapy water to the piping and connecting parts of the EVAP system.

(e) Look for areas where bubbles appear. This indicates the leak point.

(f) Repair or replace the leak point.

HINT
Disconnect the hose between the canister and fuel tank from the canister. Block the canister side and conduct an inspection. In this way, the fuel tank can be excluded as an area suspected of causing fuel leaks.

NEXT -- PERFORM EVAP SYSTEM CHECK (AUTOMATIC MODE)

38. REPLACE CANISTER ASSEMBLY

(a) Replace the canister assembly Removal.

NOTICE:
* When replacing the canister, check the canister pump module interior and related pipes for water, fuel and other liquids. If liquids are present, check for disconnections and/or cracks in the following: 1) the pipe from the air inlet port to the canister pump module; 2) the canister filter; and 3) the fuel tank vent hose.
* Check for filter blockage in the canister filter. if the canister filter has blockages, replace the canister filter.





Text in Illustration





NEXT -- PERFORM EVAP SYSTEM CHECK (AUTOMATIC MODE)

39. REPLACE PURGE VSV

(a) Replace the purge VSV Removal.

NEXT -- PERFORM EVAP SYSTEM CHECK (AUTOMATIC MODE)

40. REPAIR OR REPLACE HARNESS OR CONNECTOR

NEXT -- PERFORM EVAP SYSTEM CHECK (AUTOMATIC MODE)

41. REPAIR OR REPLACE EVAP PURGE LINE (INTAKE MANIFOLD - PURGE VSV)

NEXT -- PERFORM EVAP SYSTEM CHECK (AUTOMATIC MODE)

42. INSPECT INTAKE MANIFOLD (EVAP PURGE PORT)

(a) Check that the EVAP purge port of the intake manifold is not clogged. If necessary, replace the intake manifold Removal.

NEXT -- PERFORM EVAP SYSTEM CHECK (AUTOMATIC MODE)

43. REPAIR OR REPLACE PARTS AND COMPONENTS INDICATED BY OUTPUT DTCS

(a) Repair the malfunctioning areas indicated by the DTCs that had been confirmed when the vehicle was brought in.

NEXT -- PERFORM EVAP SYSTEM CHECK (AUTOMATIC MODE)

44. REPAIR OR REPLACE EVAP PURGE LINE (PURGE VSV - CANISTER)

NEXT -- PERFORM EVAP SYSTEM CHECK (AUTOMATIC MODE)

45. REPLACE CANISTER ASSEMBLY

(a) Replace the canister assembly Removal.

NOTICE:
* When replacing the canister, check the canister pump module interior and related pipes for water, fuel and other liquids. If liquids are present, check for disconnections and/or cracks in the following: 1) the pipe from the air inlet port to the canister pump module; 2) the canister filter; and 3) the fuel tank vent hose.
* Check for filter blockage in the canister filter. if the canister filter has blockages, replace the canister filter.





Text in Illustration





NEXT -- Continue to next step.

46. PERFORM EVAP SYSTEM CHECK (AUTOMATIC MODE)

NOTICE:
* The Evaporative System Check (Automatic Mode) consists of 6 steps performed automatically by the Techstream. It takes a maximum of approximately 19 minutes.
* Do not perform the Evaporative System Check when the fuel tank is more than 90% full because the cut-off valve may be closed, making the fuel tank leak check unavailable.
* Do not run the engine in this step.
* When the temperature of the fuel is 35°C (95°F) or more, a large amount of vapor forms and any check results become inaccurate. When performing an Evaporative System Check, keep the fuel temperature below 35°C (95°F).

(a) Connect the Techstream to the DLC3.

(b) Turn the ignition switch to ON.

(c) Turn the Techstream on.

(d) Clear the DTCs Reading and Clearing Diagnostic Trouble Codes.

(e) Enter the following menus: Powertrain / Engine and ECT / Utility / Evaporative System Check / Automatic Mode.

(f) After the Evaporative System Check is completed, check for pending DTCs by entering the following menus: Powertrain / Engine and ECT / Trouble Codes.





B -- END
A -- Continue to next step.

47. REPLACE ECM

(a) Replace the ECM Removal.

NEXT -- Continue to next step.

48. PERFORM EVAP SYSTEM CHECK (AUTOMATIC MODE)

NOTICE:
* The Evaporative System Check (Automatic Mode) consists of 6 steps performed automatically by the Techstream. It takes a maximum of approximately 19 minutes.
* Do not perform the Evaporative System Check when the fuel tank is more than 90% full because the cut-off valve may be closed, making the fuel tank leak check unavailable.
* Do not run the engine in this step.
* When the temperature of the fuel is 35°C (95°F) or more, a large amount of vapor forms and any check results become inaccurate. When performing an Evaporative System Check, keep the fuel temperature below 35°C (95°F).

(a) Connect the Techstream to the DLC3.

(b) Turn the ignition switch to ON.

(c) Turn the Techstream on.

(d) Clear the DTCs Reading and Clearing Diagnostic Trouble Codes.

(e) Enter the following menus: Powertrain / Engine and ECT / Utility / Evaporative System Check / Automatic Mode.

(f) After the Evaporative System Check is completed, check for pending DTCs by entering the following menus: Powertrain / Engine and ECT / Trouble Codes.

HINT
If no pending DTCs are found, the repair has been successfully completed.

NEXT -- END

CONFIRMATION DRIVING PATTERN

HINT
After a repair, check Monitor Status by performing the Key-Off Monitor Confirmation and Purge Flow Monitor Confirmation described below.

1. KEY-OFF MONITOR CONFIRMATION

(a) Preconditions

The monitor will not run unless:

* The vehicle has been driven for 10 minutes or more (in a city area or on a freeway).

* The fuel tank is less than 90% full.

* The altitude is less than 7875 ft. (2400 m).

* The engine coolant temperature is between 4.4°C and 35°C (40°F and 95°F).

* The intake air temperature is between 4.4°C and 35°C (40°F and 95°F).

* The vehicle remains stationary (the vehicle speed is 0 km/h [0 mph]).

(b) Monitor Conditions

(1) Allow the engine to idle for at least 5 minutes.

(2) Turn the ignition switch off and wait for 6 hours (8 or 10.5 hours).

HINT
Do not start the engine until checking Monitor Status. If the engine is started, the steps described above must be repeated.

(c) Monitor Status

(1) Connect the Techstream to the DLC3.

(2) Turn the ignition switch to ON.

(3) Turn the Techstream on.

(4) Enter the following menus: Powertrain / Engine and ECT / Monitor / Current Monitor.

(5) Check the Monitor Status displayed on the Techstream.

HINT
If Incomplete is displayed, the monitor did not complete. Make sure that the preconditions have been met, and perform the Monitor Conditions again.

2. PURGE FLOW MONITOR CONFIRMATION (P0441)

HINT
Perform this monitor confirmation after the Key-Off Monitor Confirmation shows Complete.

(a) Preconditions

The monitor will not run unless:

* The vehicle has been driven for 10 minutes or more (in a city area or on a freeway).

* The engine coolant temperature is 4.4°C (40°F) or higher.

* The intake air temperature is 4.4°C (40°F) or higher.

(b) Monitor Conditions

(1) Release the pressure from the fuel tank by removing and reinstalling the fuel cap.

(2) Warm the engine up until the engine coolant temperature reaches more than 75°C (167°F).

(3) Increase the engine speed to 3000 rpm once.

(4) Allow the engine to idle and turn the A/C switch on for 1 minute.

(c) Monitor Status

(1) Turn the ignition switch off (if ON or if the engine is running).

(2) Connect the Techstream to the DLC3.

(3) Turn the ignition switch to ON.

(4) Turn the Techstream on.

(5) Enter the following menus: Powertrain / Engine and ECT / Monitor / Current Monitor.

(6) Check the Monitor Status displayed on the Techstream.

HINT
If Incomplete is displayed, the monitor did not complete. Make sure that the preconditions have been met, and perform the Monitor Conditions again.

MONITOR RESULT

Refer to Checking Monitor Status Mode 6 Data.