Operation CHARM: Car repair manuals for everyone.
Manuals through 2025 now available!

Our trusted friends have launched a new website named LEMON, which has newer manuals. It also contains all the CHARM manuals.

LEMON is the spiritual successor to CHARM, I recommend you try it!

Link: lemon-manuals.la or lemon-manuals.org.ua

(Some people have issue connecting. LEMON is investigating. For now, use Firefox or change your DNS server)

Or, hide this message: temporarily or permanently

Hall Effect Sensor: Service and Repair

Distributor With Hall Sensor:





***UPDATED BY TSB# 288901, JULY 1989

NOTE: This procedure requires that the distributor is removed from the engine block. For distributor removal and installation procedure, refer to DISTRIBUTOR.

1. Remove the vacuum advance unit screws.
2. Tilt the advance unit upwards to disconnect the rod from the Hall sender plate. It may be necessary to move the Hall sender plate into the "full advance" position to disconnect the diaphragm rod.
3. With a snap-ring plier, remove the trigger wheel snap ring.

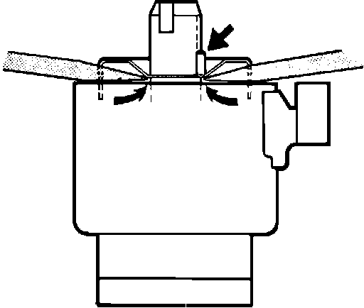
Trigger Wheel Removal:





4. Install a suitable trigger wheel puller (VW special tool# 3163 or equivalent) or use two screwdrivers positioned at opposite sides of the trigger wheel as shown. Insert the screwdriver as far as possible to avoid any damage to trigger wheel.
5. Pull/pry trigger wheel up and remove it from the shaft.

NOTE: Make sure you don't loose the small trigger wheel locating pin.

6. Remove following washer and snap-ring.
7. Remove remaining base plate retaining screws.
8. Remove Hall sender unit.
9. Reassemble in reversed order.

NOTE: The replacement Volkswagen Hall sender kit may be equipped with a trigger wheel for 5-cylinder engines. If so, reuse the original 4-cylinder trigger wheel. Check with your parts department for correct replacement part#.
Volkswagen recommends to always use new washers and snap-rings during the reassembly process.