Operation CHARM: Car repair manuals for everyone.
Manuals through 2025 now available!

Our trusted friends have launched a new website named LEMON, which has newer manuals. It also contains all the CHARM manuals.

LEMON is the spiritual successor to CHARM, I recommend you try it!

Link: lemon-manuals.la or lemon-manuals.org.ua

(Some people have issue connecting. LEMON is investigating. For now, use Firefox or change your DNS server)

Or, hide this message: temporarily or permanently

Assembly







Front Pinion Assembly





- Install bearing
- Heat inner rings to approximately 100°C (212°F)
- Position and press in





- Install and tighten grooved nut to 210 Nm (155 ft lb)





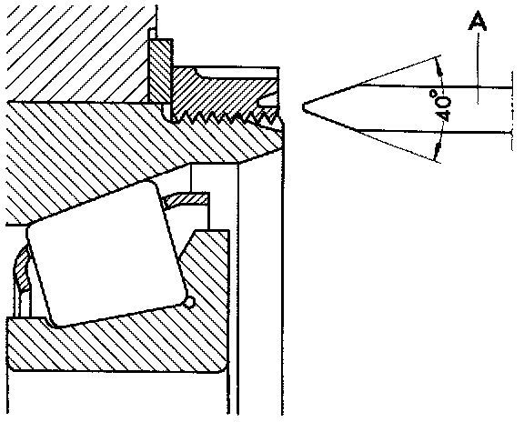
- Check turning torque of bearing
^ A = Commercial gauge, 0-600 Ncm (0-54 in. lb
- Lubricate bearing with hypoid transmission oil
- Tighten retaining ring as specified
- Rotate pinion in both directions 15-20 times without interruption
- Rotate again and read turning torque
^ Turning torque: New bearings -- to 210 Ncm (19 in lb)
Used bearings -- to 70 Ncm (6.2 in lb) After running at least 30 miles





- If turning torque equals zero, check pinion shaft bearing for end play
- If any end play is felt, replace bearing





Front final Drive
- Position shim S3
- Place 12 point of dual bearing on opening in housing
- Heat pinion housing at dual bearing seat to 40-60°C (130-166°F)
- Drive pinion in using a plastic hammer
- Position washer and install retaining ring





- Tighten retaining ring to 225 Nm (166 ft lb)
- Loosen retaining ring and retighten to 225 Nm (166 ft lb)





- Secure retaining ring by staking in two places
^ A = fabricated staking tool
- Install speedometer drive





- Push both ball bearings up to stop in back cover
- Install circlips





- Drive seal in to stop





- Press in flange shaft needle bearings
- Install flange shaft into output housing





- Push on driveshaft flange
- Insert washer
- Mount puller and tighten hex nut to 160 Nm (118 ft lb)
- Position viscous coupling on pinion





- Coat spacer ring with grease and align on viscous coupling
- Position output housing and tighten





Differential Assembly





- Install differential assembly





- Screw adjustment rings into transmission housing to scratch mark and measure depth

CAUTION: Tighten left adjusting ring first if housing cover is installed and bolted into place.





- Tighten axle flange





- Position spring washer and circlip
- Press circlip into groove
- Watch for central fit of spring washer