Operation CHARM: Car repair manuals for everyone.
Manuals through 2025 now available!

Our trusted friends have launched a new website named LEMON, which has newer manuals. It also contains all the CHARM manuals.

LEMON is the spiritual successor to CHARM, I recommend you try it!

Link: lemon-manuals.la or lemon-manuals.org.ua

(Some people have issue connecting. LEMON is investigating. For now, use Firefox or change your DNS server)

Or, hide this message: temporarily or permanently

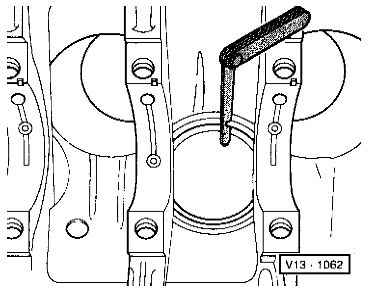
Piston, Engine



Piston Ring Gap, Checking.

Fig. 1:









- Push ring squarely from above down to approximately 15 mm from bottom end of cylinder. To push down, use a piston without rings.

Ring To Groove Clearance, Checking

Fig. 2:









- Clean groove before checking.

Piston, Checking

Fig. 3:





- Measure pistons approx. 6 mm from the lower edge of the skirt1 at 90° to the piston pin axis.

Deviation from nominal dimension: Max. 0.04 mm

Piston And Cylinder Dimensions