Operation CHARM: Car repair manuals for everyone.
Manuals through 2025 now available!

Our trusted friends have launched a new website named LEMON, which has newer manuals. It also contains all the CHARM manuals.

LEMON is the spiritual successor to CHARM, I recommend you try it!

Link: lemon-manuals.la or lemon-manuals.org.ua

(Some people have issue connecting. LEMON is investigating. For now, use Firefox or change your DNS server)

Or, hide this message: temporarily or permanently

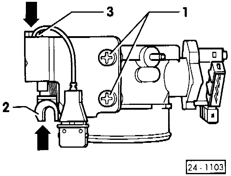
Throttle Full Close Switch: Adjustments

CHECKING AND ADJUSTING CLOSED THROTTLE POSITION SWITCH

Function, Testing

- Perform electrical checks. Refer to Diagnostic Charts / Electrical Test Steps (ECM Pinout) / Test Step 14 and/or 30. Testing and Inspection

ADJUSTING

Requirements

^ Basic throttle setting OK.
^ Closed Throttle Position (CTP) switch mounting screws loosened.
^ Throttle stop lever touching the limiting screw.





Procedure
- Slightly loosen mounting screws -1-.
- Tightly press throttle lever -2- and CTP switch -3- together (arrow).
- Tighten mounting screws -1-.
- Open throttle.

NOTE: CTP switch must audibly switch (click).