Operation CHARM: Car repair manuals for everyone.
Manuals through 2025 now available!

Our trusted friends have launched a new website named LEMON, which has newer manuals. It also contains all the CHARM manuals.

LEMON is the spiritual successor to CHARM, I recommend you try it!

Link: lemon-manuals.la or lemon-manuals.org.ua

(Some people have issue connecting. LEMON is investigating. For now, use Firefox or change your DNS server)

Or, hide this message: temporarily or permanently

M/T - 5th Gear/Synchronizer Changes/Modifications

Group: 34
Number: 92-08
Date: December 31, 1992

Subject:
5-speed transmission 02B, changes/modifications

Models:
EuroVan all m.y. (see below for specific transmission build dates)

5th gear synchronizer, changes





Transmissions from 31 10 1

Note
The modified assembly has three new locking keys (item 4) which are additional to the three existing keys cast on the synchronizer ring.

1 - Springs for 5th gear synchronizer ring
^ no longer a single-spring design
^ installed position: one spring at 120~ offset to the other

2 - Synchronizer for 5th gear
^ three cutouts (arrows A) for new locking keys (item 4)

3 - Synchronizer hub for 5th gear
^ three smaller additional cutouts a for new locking keys (item 4)
^ dimension a = 8.2 mm

4 - Locking keys
^ installed position: smaller end (arrows B) toward edge of meshing teeth in synchronizer (item 2)





5th gear synchronizer ring, changes previous (transmissions up to 30 10 1)
^ dimension a = 9.0 mm
^ spring recess (lower arrow) is present new (transmissions from 31 10 1)
^ dimension a = 8.6 mm
^ spring recess (lower arrow) has been eliminated

CAUTION
Do not install early version synchronizer rings in later transmissions, nor later version rings in earlier transmissions.

Modified synchronizer ring and 5th gear synchronizer, assembling





Transmissions from 31 10 1

- slide synchronizer over synchronizer hub (see also, illustration 35-1319)
^ edges A of meshing teeth in synchronizer face in same direction as collar B of synchronizer hub
^ cutouts for locking keys in synchronizer and in synchronizer hub must align, one above the other
- insert locking keys, as shown in illustration 35-1319
- insert springs at a 120~ offset, seating each spring under all three lugs C of the locking keys
^ be sure ends of spring (arrows) are positioned at lugs C, as shown

5th gear selector fork, changes





Note
Modifications to the 5th gear selector fork correspond to changes in the 5th gear synchronizer hub.

previous (transmissions up to 30 10 1)
^ dimension a - 35.0 mm
^ dimension b - 23.3 mm

new (transmissions from 31 10 1)
^ dimension a = 33.7 mm
^ dimension b = 24.3 mm

Note
The new selector fork can be installed in earlier transmissions.





1st/4th gear selector forks/ball bearings, changes

previous (transmissions up to 05 02 2)
^ dimension a = 20.0 mm

new (transmissions from 06 02 2)
^ dimension a = 21.0 mm

Note
The new selector fork with larger ball bearings can also be installed in earlier transmissions.

5th gear shift rail, changes





Note
Modifications to the 5th gear shift rail correspond to changes in the selector shaft. These changes now allow for the immediate engaging of reverse gear.

previous (transmissions up to 16 05 1)
^ not chamfered at arrow

new (transmissions from 17 05 1)
^ chamfered at arrow to accommodate spring-loaded ball on modified selector shaft

Note
The modified shift rail is available as a replacement part.

The modified shift rail can also be installed in earlier transmissions.

Modified 5th gear synchronizer, installed position





Transmissions from 31 10 1

- assemble hub and synchronizer, as described previously
- install so that teeth (arrow 1) in synchronizer, and high collar of synchronizer hub (arrow 2) face transmission housing

5th gear, adjusting/checking





Transmissions from 31 10 1

Adjusting

- engage 5th gear
- loosen bolt 1
- press synchmnizer and selector arm in direction of arrows
- tighten bolt 1 to 25 N-m (18 ft.lb.)

Checking

- check measurement with feeler gage
^ gap between synchronizer and gear must not exceed 0.2 mm
- repeat adjustment if necessary
- remove 5th gear:
^ synchronizer must now be in neutral position
^ synchronizer ring must have enough clearance to move freely

Selector shaft, changes





Modifications to length/diameter

previous (transmissions up to 30 10 1)
^ dimension a = 57.0 mm
^ dimension b = 15.0 mm

new (transmissions from 31 10 1)
^ dimension a = 41.0 mm
^ dimension b = 16.0 mm

Note
The length/diameter modifications to the selector shaft correspond to changes in the end cover (see page 5).





Modifications - spring-loaded ball
previous (transmissions up to 03 12 1)
^ no spring-loaded ball (arrow)

new (transmissions from 04 12 1)
^ presence of spring-loaded ball (arrow)

Note
The 5th gear shift rail is now chamfered to accommodate the new spring-loaded ball on the modffied selector shaft. This design change creates a "brake" mechanism for the input shaft, allowing reverse gear to be engaged without a hesitation.





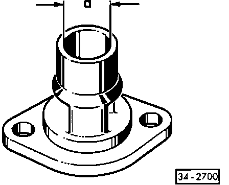
End cover, changes

previous (transmissions up to 30 10 1)
^ dimension a = 21.0 mm

new (transmissions from 31 10 1)
^ dimension a = 16.0 mm

Note
The end cover modifications correspond to changes in the selector shaft (i.e. shaft length and diameter changes).