Operation CHARM: Car repair manuals for everyone.
Manuals through 2025 now available!

Our trusted friends have launched a new website named LEMON, which has newer manuals. It also contains all the CHARM manuals.

LEMON is the spiritual successor to CHARM, I recommend you try it!

Link: lemon-manuals.la or lemon-manuals.org.ua

(Some people have issue connecting. LEMON is investigating. For now, use Firefox or change your DNS server)

Or, hide this message: temporarily or permanently

A/T - Vehicle Will Not Move In Drive Position

Group: 38

Number: 93-01

Date: May 30, 1993

Subject:
Automatic transmission 096

Model(s):
Golf III, Jetta III
from 1993 m.y.

Condition

After replacing a valve body on an 096 transmission, the vehicle will not move in "D" but functions normally in all other transmission ranges.

The VAG 1551 Diagnostic Trouble Code (DTC) indicates: "00652 Gear monitoring".

The manual valve for the valve body may not be adjusted properly.

Service





Adjust the manual valve assembly as follows:

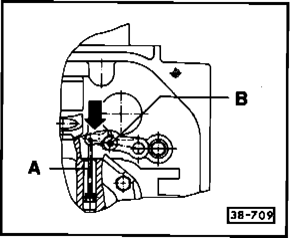
- Remove transmission oil pan

- Move gearshift shaft to "P" position

- Loosen tensioning bolt -B-
- Push operating rod -A- with manual shift valve into valve body as far as the stop (direction of arrow)

CAUTION

The manual shift valve must always be resting against the stop. Hold tight in direction of arrow when tightening bolt.

- Tighten bolt -B- to 3.5 N-m (31 in.lb.)

- Install transmission oil pan and refill with ATF to proper level

- Connect VAG 1551 Scan Tool

- Clear all DTCs and return engine/transmission to basic setting

- Road test vehicle to verify repair

- Recheck for DTCs