Operation CHARM: Car repair manuals for everyone.
Manuals through 2025 now available!

Our trusted friends have launched a new website named LEMON, which has newer manuals. It also contains all the CHARM manuals.

LEMON is the spiritual successor to CHARM, I recommend you try it!

Link: lemon-manuals.la or lemon-manuals.org.ua

(Some people have issue connecting. LEMON is investigating. For now, use Firefox or change your DNS server)

Or, hide this message: temporarily or permanently

Installation

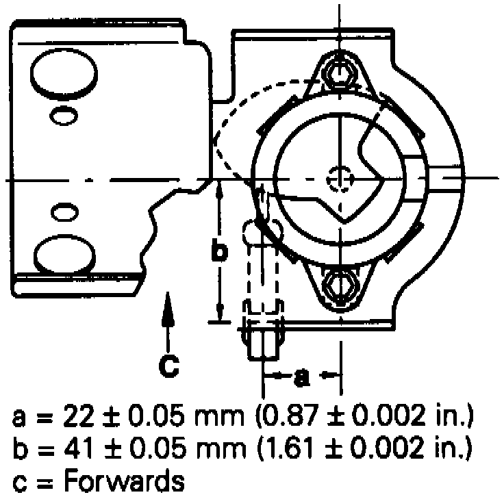
Fig. 20 Exploded View Of Throttle Position Sensor:




Fig. 21 Throttle Position Sensor Initial Setup:




1. During component installation, refer to Figs. 20 & 21 for component locations and basic settings.
2. Secure TP sensor to mounting bracket, then cam to sensor using Fig. 21 for basic setting adjustments.
3. Secure bracket with sensor to vehicle, then install pedal, bushing, spring, pin and clip.
4. Connect wiring connector, then proceed to "Adjustments."