Operation CHARM: Car repair manuals for everyone.
Manuals through 2025 now available!

Our trusted friends have launched a new website named LEMON, which has newer manuals. It also contains all the CHARM manuals.

LEMON is the spiritual successor to CHARM, I recommend you try it!

Link: lemon-manuals.la or lemon-manuals.org.ua

(Some people have issue connecting. LEMON is investigating. For now, use Firefox or change your DNS server)

Or, hide this message: temporarily or permanently

Heating and Ventilation Controls, Removing and Installing



Heating And Ventilation Controls, Removing And Installing

Special tools and equipment required






- Special hook 3370

First do the following:

- Remove glove box
- Remove steering column cover.
- Remove center console.

Removing






- Pull off heating controls trim panel with tool 3370.






- Remove screws -arrows-.
- Remove center trim.
- Remove controls with cables attached.
- Disengage cables from controls.
- Disconnect electrical connectors.

After removing controls, check all cables for free movement.






- Move cables back and forth in direction of arrows.
- Replace cables that are damaged or hard to move.

Installing

NOTE:

- Cable sleeve ends are color coded.
- All air flaps must audibly move onto end stops when turning controls.
- Always check cables before installing. Replace binding or damaged cables.






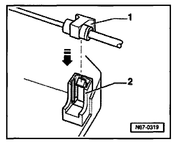
- Hold cable end -1- at an angle and press onto control lever -2-, -arrow-.






- Insert footwell/defrost flap cable, temperature flap cable, temperature flap cable and central flap cable -1- into clip -2- and press in to stop.

Cable sleeve end color code:

- Footwell/defroster flap: green
- Center flap: yellow
- Temperature flap: beige