Operation CHARM: Car repair manuals for everyone.
Manuals through 2025 now available!

Our trusted friends have launched a new website named LEMON, which has newer manuals. It also contains all the CHARM manuals.

LEMON is the spiritual successor to CHARM, I recommend you try it!

Link: lemon-manuals.la or lemon-manuals.org.ua

(Some people have issue connecting. LEMON is investigating. For now, use Firefox or change your DNS server)

Or, hide this message: temporarily or permanently

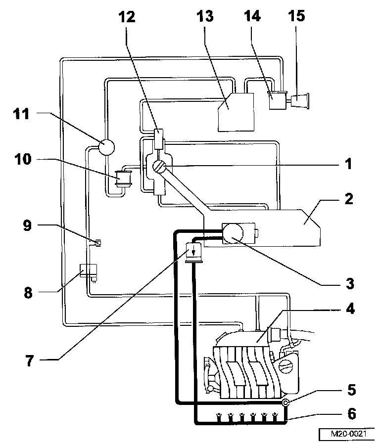
Exploded Views




Evaporative emissions system, diagram





1. Fuel filler door unit
2. Fuel tank
3. Fuel delivery unit
4. Upper intake manifold
5. Pressure regulator
6. Supply rail with injectors
7. Fuel filter
^ Install position: arrow indicates direction of flow
8. Solenoid valve 1 for charcoal canister (N80)
^ In the engine compartment on the right
^ Install position: arrow indicates the direction of flow
^ Check via Output DTM.
9. Test socket
10. Gravity/overflow valve
11. Pressure retention valve
12. Switch-over valve
13. Activated charcoal canister
^ In the rear right wheel housing underneath the liner
^ Fastened to the body
14. Leak detection pump for fuel system (V144)
^ On the charcoal canister
15. Air filter for leak detection pump