Operation CHARM: Car repair manuals for everyone.
Manuals through 2025 now available!

Our trusted friends have launched a new website named LEMON, which has newer manuals. It also contains all the CHARM manuals.

LEMON is the spiritual successor to CHARM, I recommend you try it!

Link: lemon-manuals.la or lemon-manuals.org.ua

(Some people have issue connecting. LEMON is investigating. For now, use Firefox or change your DNS server)

Or, hide this message: temporarily or permanently

With Manufacturer's Scan Tool



Knock Sensor, Checking

NOTE:
- It is extremely important to keep to the tightening torque of 20 Nm (15 ft lb) to ensure the knock sensors function normally.
- Only gold plated terminals may be used when servicing the knock sensor harness connector terminals.

Special tools and equipment
- V.A.G1551 Scan Tool (ST) or VAG1552 mobile scan tool with VAG1551/3 adapter cable
- VAG1598/22 test box
- Multimeter (Fluke 83 or equivalent)
- VW1594 adapter set
- Wiring diagram

Test conditions
- The On Board Diagnostic (OBD) must have recognized a malfunction of one or both knock sensors. Reading Diagnostic Trouble Codes

Checking function
- Connect V.A.G1551 Scan Tool (ST) or VAG1552 mobile scan tool. Start engine and press buttons -0- and -1- to select "Engine Electronics" address word 01. Engine must be running at idle speed when performing this step. [1][2][3]Reading and Clearing Diagnostic Trouble Codes

Indicated on display:

Rapid data transfer HELP
Select function XX


- Press buttons -0- and -8- to select "Read Measuring Value Block" function 08, and press -Q- button to confirm input.

Indicated on display:

Read Measuring Value Block
Input display group number XXX


- Press buttons -0-, -2- and -2- to input display group number 22 (022), and press -Q- button to confirm input.

Indicated on display: (1-4 = display fields)

Read Measuring Value Block 22 ->
1 2 3 4


NOTE: Check the knock sensors during a road test. The knock sensors diagnostic is not activated until the engine speed exceeds 3000 RPM and the engine is under more than 40% load.

- Perform the road test and check knock control Specified values on display (display fields 3 and 4).

Observe the valid safety precautions when performing a road test. Technician Safety Information

Display Group 022:






- Change to display group 23 as follows:
- Press button -3- (VAG1551) or 'up' button (VAG1552).

Indicated on display: (1-4 as display fields)

Read Measuring Value Block 23 ->
1 2 3 4


- Check knock control specified values on display (display fields 3 and 4).

Display Group 23:






If the specified values are attained:
- Press -> button.
- Press buttons -0- and -6- to select "End Output" function 06 and press -Q- button to confirm input.
- Turn off ignition.

Evaluating display groups 22/23: display fields 3 and 4, ignition timing retardation





Continuation:

- Press -> button.
- Press buttons -0- and -6- to select "End Output" function 06 and press -Q- button to confirm input.
- Turn off ignition.

Checking resistances and wiring






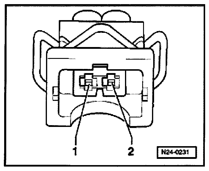
- Disconnect 2-pin harness connector to Knock Sensor (KS) 1 -G61- (-1-) and/or 2- pin harness connector to Knock Sensor (KS) 2 -G66- (-2-).






- Measure resistance between terminals 1 + 2 at connections to knock sensors.
Specified value: Infinity ohms

- Remove wiper arms and plenum chamber cover.






- Connect VAG1598/22 test box to control module wiring harness connector.






- Check wiring between test box and 2- pin harness connector for open circuit using wiring diagram.

-G61-: -G66-:
Terminal -1- + 68 60
socket
Terminal -2- + 67 67
socket
Wire resistance: max. 1.5 ohms

- Also, check wires at socket 67 for short to sockets 60 and 68.
Specified value: Infinity ohms

If no malfunction is found in the wiring:
- Loosen knock sensor and tighten again to 20 Nm (15 ft lb).
- Perform road test again and check knock control specified values on display.

During the road test the following operating conditions must be fulfilled:
- Coolant temperature must exceed 80 °C
- When temperature is reached, operating conditions Idling, Part throttle, Wide Open Throttle (WOT), and Overrun must be attained several times
- At Wide Open Throttle (WOT) engine speed must exceed 3500 RPM
- Again, check DTC memory of control module.

If the malfunction is still present:
- Replace knock sensor/s -G61- or -G66-. Service and Repair

- Check DTC memory. If necessary, repair any malfunctions and erase DTC memory.
Reading Diagnostic Trouble Codes
Clearing Diagnostic Trouble Codes

- Display readiness code. Monitors, Trips, Drive Cycles and Readiness Codes
If the DTC memory has been erased or the Engine Control Module (ECM) was disconnected from permanent battery (B+) voltage, generate the readiness code again. Monitors, Trips, Drive Cycles and Readiness Codes