Heating and A/C Controls W/O Climatronic Control Module
Heating And A/C Controls, Removing And Installing
Removing
- Carefully remove trim panel by depressing locating lugs -arrows- with a covered screwdriver. Do not damage instrument panel.
- Remove instrument panel screws -arrows-.
- Remove center trim panel.
- Pull controls with cables attached from instrument panel.
- Release cables on controls.
- Disconnect electrical connector.
Installing
NOTE:
- Cable sleeve ends are color coded.
- Check cables before installing and replace binding or damaged cables.
- All air flaps must audibly move onto end stops when turning controls.
- Mount eyelet on end of cable -1- onto control - arrow 2-.
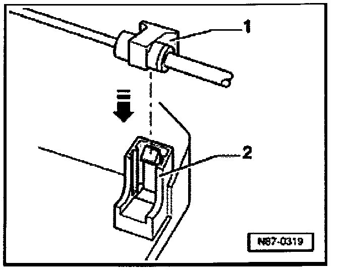
- Press footwell/defrost or central flap cable -1- into mount -2- until it engages.
Footwell/defrost flap cable sleeve marking: White
Central flap cable sleeve marking: Black
- Insert temperature flap cable -1- into mount opening -arrow B-.
- Turn -arrow A- temperature flap cable -1- until it engages into air distributor housing -2-.
Temperature flap cable sleeve marking: Red