Operation CHARM: Car repair manuals for everyone.
Manuals through 2025 now available!

Our trusted friends have launched a new website named LEMON, which has newer manuals. It also contains all the CHARM manuals.

LEMON is the spiritual successor to CHARM, I recommend you try it!

Link: lemon-manuals.la or lemon-manuals.org.ua

(Some people have issue connecting. LEMON is investigating. For now, use Firefox or change your DNS server)

Or, hide this message: temporarily or permanently

Digital Climate Control (Climatronic)



A/C Refrigerant System, Identification

Climatronic

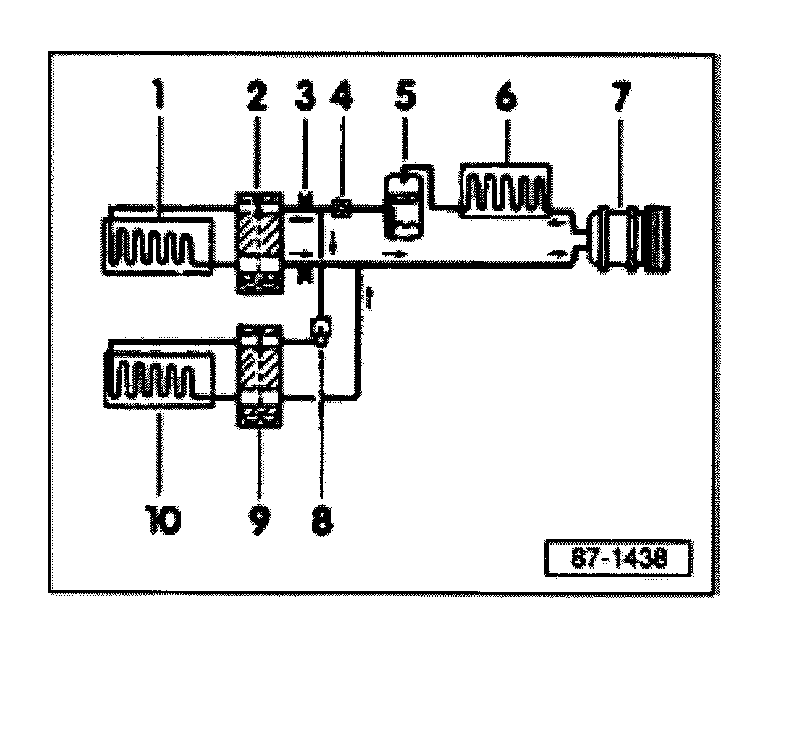
A/C refrigerant circuit with two evaporators






1 - Evaporator
2 - Expansion valve
3 - High-pressure service valve
4 - Sight glass (if equipped)
5 - Receiver drier
6 - Condenser
7 - Compressor
8 - Solenoid valve for refrigerant circuit
9 - Expansion valve
10 - Second evaporator

NOTE: Arrows indicate direction of refrigerant flow.