Operation CHARM: Car repair manuals for everyone.
Manuals through 2025 now available!

Our trusted friends have launched a new website named LEMON, which has newer manuals. It also contains all the CHARM manuals.

LEMON is the spiritual successor to CHARM, I recommend you try it!

Link: lemon-manuals.la or lemon-manuals.org.ua

(Some people have issue connecting. LEMON is investigating. For now, use Firefox or change your DNS server)

Or, hide this message: temporarily or permanently

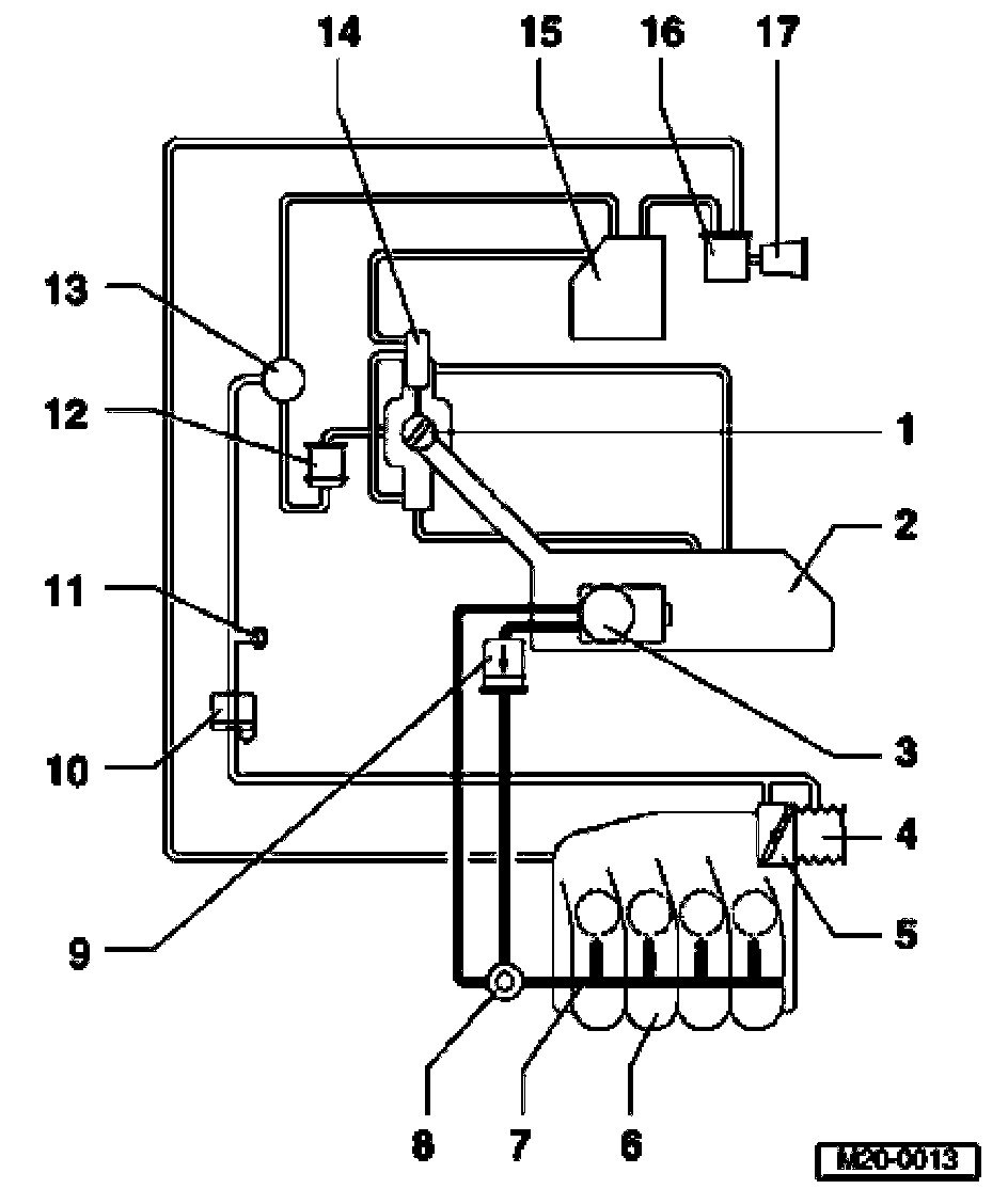
EVAP System, Assembly Overview







EVAP system, assembly overview
1- Tank flap unit
2- Fuel tank
3- Fuel delivery unit
4- Intake hose
5- Throttle valve control module -J338-*
6- Intake manifold upper part
7- Fuel rail with injectors
8- Fuel pressure regulator
9- Fuel filter
^ Installation position: Arrow points in direction of flow
10- EVAP canister purge regulator valve -N80-
^ Installation position: Arrow points in direction of flow
^ Valve will be activated by engine control module (pulsed)
11- Test union
^ Not on all models
12- Gravity valve
13- Pressure retention valve
14- Change-over valve
15- EVAP canister
^ In rear right wheel housing, behind wheel housing liner
16- Leak Detection Pump (LDP) -V144-*/**
^ In rear right wheel housing, behind wheel housing liner
^ Valve will be activated by engine control module (pulsed)
17- Air filter for Leak Detection Pump (LDP)