Operation CHARM: Car repair manuals for everyone.
Manuals through 2025 now available!

Our trusted friends have launched a new website named LEMON, which has newer manuals. It also contains all the CHARM manuals.

LEMON is the spiritual successor to CHARM, I recommend you try it!

Link: lemon-manuals.la or lemon-manuals.org.ua

(Some people have issue connecting. LEMON is investigating. For now, use Firefox or change your DNS server)

Or, hide this message: temporarily or permanently

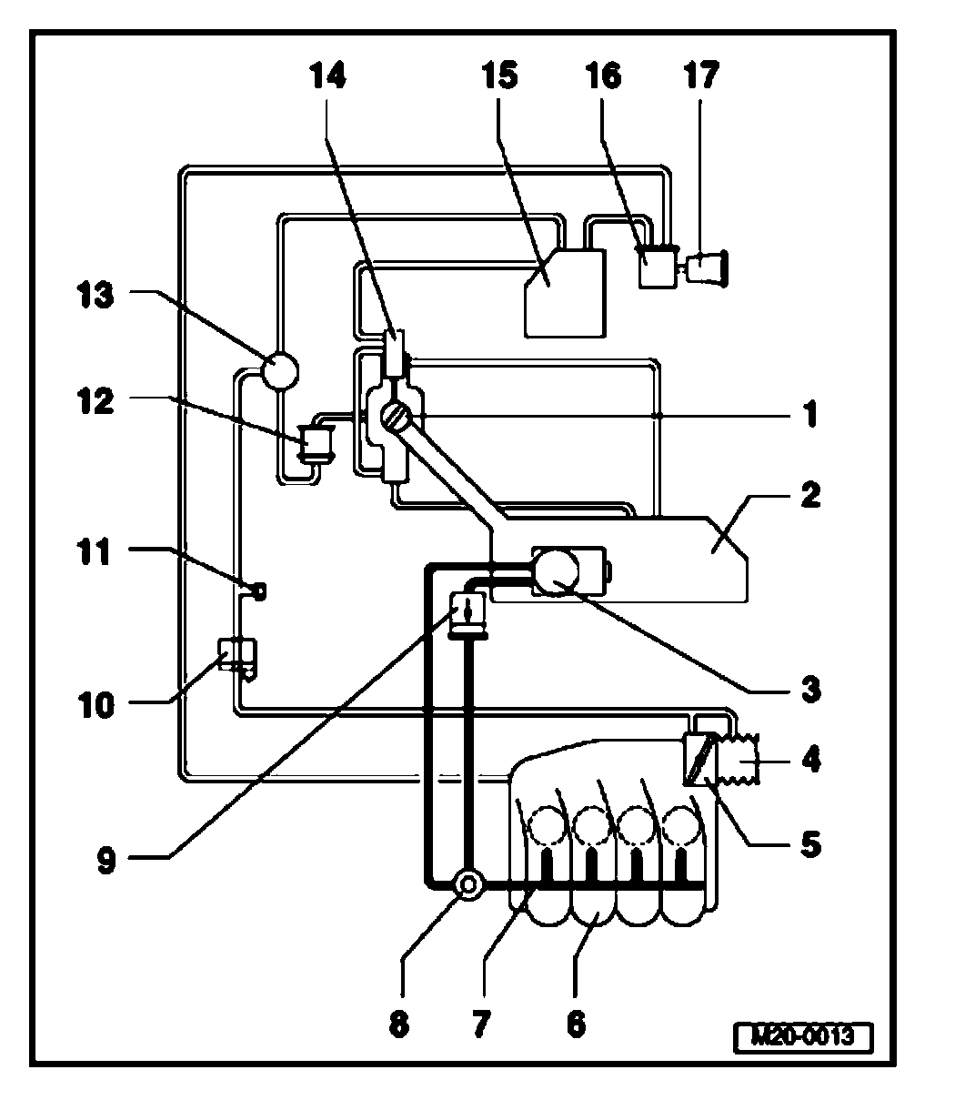
EVAP System, Assembly Overview


EVAP system, assembly overview






Engines: AEG, AVH, AZG, BEV
1. Tank flap unit
2. Fuel tank
3. Fuel delivery unit
4. Intake hose
5. Throttle valve control module -J338
6. Intake manifold
7. Fuel rail with injectors
8. Fuel pressure regulator
9. Fuel filter
^ Installed position: Arrow points in direction of flow
10. Evaporative Emissions (EVAP) canister purge regulator valve -N80
^ Installed position: Arrow points in direction of flow
^ Valve will be activated by engine control module (pulsed)
11. Test connection
12. Gravity valve
13. Pressure retention valve
14. Change-over valve
15. Evaporative Emissions (EVAP) canister
^ In right rear wheel housing, behind wheel housing liner
16. Leak Detection Pump (LDP) -V144
^ In right rear wheel housing, behind wheel housing liner
^ Pump will be activated by engine control module (pulsed)
17. Air filter for Leak Detection Pump (LDP) - V144






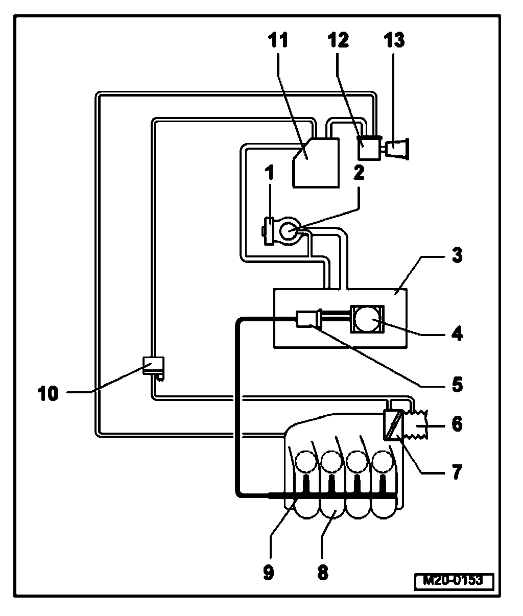
Engine: BBW
1. Tank flap unit
2. Non-return valve
3. Fuel tank
4. Fuel delivery unit
5. Fuel filter
^ Installed position: Arrow points in direction of flow
6. Intake hose
7. Throttle valve control module -J338
8. Intake manifold
9. Fuel rail with injectors
10. Evaporative Emissions (EVAP) canister purge regulator valve -N80
^ Front right in engine compartment
^ Installed position: Arrow points in direction of flow
^ Valve will be activated by engine control module (pulsed)
11. Evaporative Emissions (EVAP) canister
^ In rear right wheel housing, behind wheel housing liner
12. Leak Detection Pump (LDP) -V144
^ In rear right wheel housing, behind wheel housing liner
^ Pump will be activated by engine control module (pulsed)
13. Air filter for LOP -V144