Operation CHARM: Car repair manuals for everyone.
Manuals through 2025 now available!

Our trusted friends have launched a new website named LEMON, which has newer manuals. It also contains all the CHARM manuals.

LEMON is the spiritual successor to CHARM, I recommend you try it!

Link: lemon-manuals.la or lemon-manuals.org.ua

(Some people have issue connecting. LEMON is investigating. For now, use Firefox or change your DNS server)

Or, hide this message: temporarily or permanently

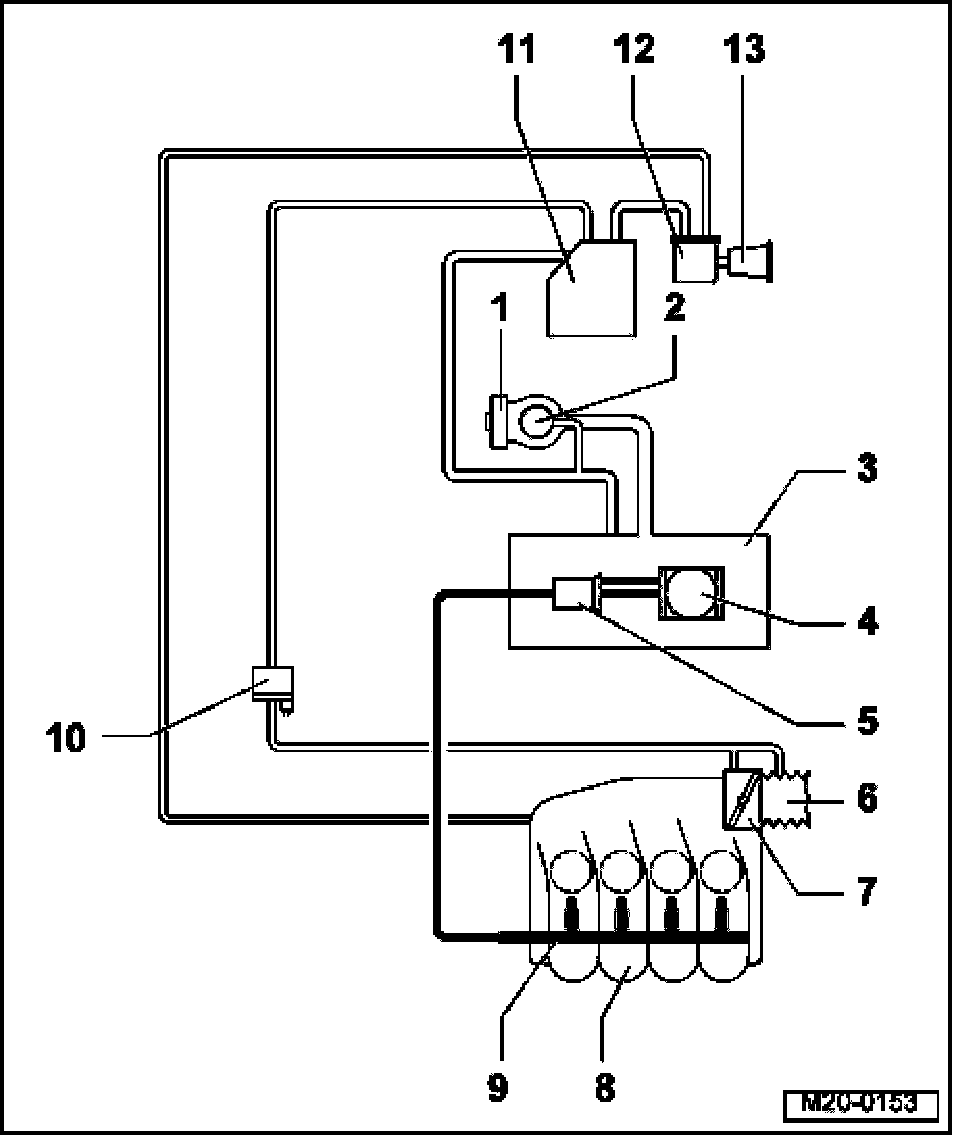
EVAP System, Assembly Overview



EVAP System, Assembly Overview (Engine Codes AVH, BEV)







1. Tank flap unit
2. Fuel tank
3. Fuel delivery unit
4. Intake hose
5. Throttle valve control module -J338-
6. Intake manifold
7. Fuel rail with injectors
8. Fuel pressure regulator
9. Fuel filter
- Installed position: Arrow points in direction of flow
10. Evaporative Emissions (EVAP) canister purge regulator valve -N80-
- Installed position: Arrow points in direction of flow
- Valve will be activated by engine control module (pulsed)
11. Test connection
12. Gravity valve
13. Pressure retention valve
14. Change-over valve
15. Evaporative Emissions (EVAP) canister
- In right rear wheelhousing, behind wheelhousing liner
16. Leak Detection Pump (LDP) -V144-
- In right rear wheelhousing, behind wheelhousing liner
- Pump will be activated by engine control module (pulsed)
17. Air filter for Leak Detection Pump (LDP) -V144-







Engine Code BBW
1. Tank flap unit
2. Non-return valve
3. Fuel tank
4. Fuel delivery unit
5. Fuel filter
- Installed position: Arrow points in direction of flow
6. Intake hose
7. Throttle valve control module -J338-
8. Intake manifold
9. Fuel rail with injectors
10. Evaporative Emissions (EVAP) canister purge regulator valve -N80-
- Right front in engine compartment
- Installed position: Arrow points in direction of flow
- Valve will be activated by engine control module (pulsed)
11. Evaporative Emissions (EVAP) canister
- In right rear wheelhousing, behind wheelhousing liner
12. Leak Detection Pump (LDP) -V144-
- In right rear wheelhousing, behind wheelhousing liner
- Pump will be activated by engine control module (pulsed)
13. Air filter for Leak Detection Pump -V144-