Operation CHARM: Car repair manuals for everyone.
Manuals through 2025 now available!

Our trusted friends have launched a new website named LEMON, which has newer manuals. It also contains all the CHARM manuals.

LEMON is the spiritual successor to CHARM, I recommend you try it!

Link: lemon-manuals.la or lemon-manuals.org.ua

(Some people have issue connecting. LEMON is investigating. For now, use Firefox or change your DNS server)

Or, hide this message: temporarily or permanently

Heating and A/C Controls






Heating and A/C Controls

Removing

- Remove center air outlet console => [ Center Air Outlet Console ] Center Air Outlet Console





- Remove mounting screws - arrows -.

- Lift out controls with cables from instrument panel in direction of - arrow A -.

- Detach cables from controls.

- Disconnect electrical connector.

With controls removed, check function of heating and ventilation cables as follows:





- Move cables in and out several times - arrow -.

- Replace damaged or stiff cables.

Installing

Cable sleeves are color coded.

All doors must audibly move onto stops when turning controls.

Always check cables before installing. Replace tight or damaged cables.

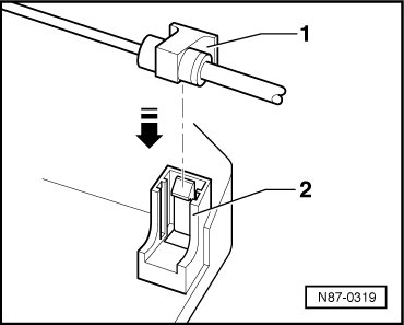
- Attach cable - 1 - to actuating arm - 2 - as indicated-arrow-.





- Press cable for footwell/defrost, cable for temperature door and cable for central door - 1 - into retainer - 2 - until it engages.





Cable Color Codes

Footwell/defrost door cable: green

Central door cable: yellow

Temperature door cable: beige

- Check and adjust cables => [ Heating and A/C Cables Component Overview ] Heating and A/C Cables Component Overview.

- Connect electrical connector

- Fit controls into instrument panel opening and install mounting screws.