Operation CHARM: Car repair manuals for everyone.
Manuals through 2025 now available!

Our trusted friends have launched a new website named LEMON, which has newer manuals. It also contains all the CHARM manuals.

LEMON is the spiritual successor to CHARM, I recommend you try it!

Link: lemon-manuals.la or lemon-manuals.org.ua

(Some people have issue connecting. LEMON is investigating. For now, use Firefox or change your DNS server)

Or, hide this message: temporarily or permanently

Window Frame: Service and Repair






Door Windows

Subframe

Window regulator, door lock and loudspeaker are secured to subframe.

Door lock can only be removed in conjunction with subframe.

Subframe can only be removed when the door window has been unscrewed at clamping brackets of window regulator. For this purpose, door window must be driven down to height of installation holes in subframe and clamping brackets loosened.

If it is not possible to drive down the door window by the electrical window regulator, first the exact cause of malfunction must be determined.

To do so, check DTC Memory of comfort system (address word 46) using diagnostic tool.

If electrical malfunction is present, repair this malfunction first.

If window regulator motor is cause for malfunction, proceed according to description.

Removing

- Remove front door trim.

- Remove lock cylinder housing. Refer to => [ Lock Cylinder Housing ] Front Door.

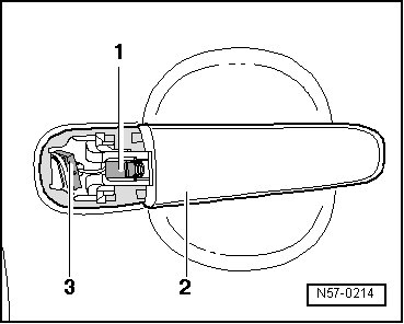
- Unclip clip - 1 - from door handle.





- Pry off caps - 1 -.





- Lower door window until securing bolts of door window are accessible.

If work step is not possible due to malfunction of the electrical window regulator, window regulator motor can be removed to be able to slide window down.

- Loosen bolts - 2 - and press clamping brackets apart.

- Slide door windows upward and secure (e.g. using adhesive tape).

- Remove operating lever for front hood lock (driver's side only). Refer to => [ Operating Lever ] Hood.

- Remove lower A-pillar trim.

- Disconnect multi-pin harness connectors - 1 - at A-pillar - 2 -.





- Remove cover - 1 - for wiring harness - 2 - out of body opening in inner A-pillar.





- Remove wiring harness at bellows - 1 - out of A-pillar between door and A-pillar.





- Disconnect harness connector for exterior mirror - arrow - and unhook wiring at subframe.





- Remove bolt - 1 - and unhook wiring harness guide - 2 - from door.

- Guide wiring harness with bellows through door.

- Remove bolts - 1 -, tightening specifications: 20 Nm.





- Remove bolts - 1 - to - 11 -. Remove upper subframe from door, lift and lift out from door toward hinge side of door.





- Rotate subframe and disconnect harness connector from door lock.

Installing





- Pull lock lever - 1 - in - direction of arrow -.

- Using a screwdriver, tension spring - 2 - secured to door lock in direction of arrow and engage lock lever into spring.

Lock is secured by engaging operating lever. This prevents cable from being clipped in "incorrectly" later (lock may already be slightly loosened).

- Insert subframe into door.

- Attach all bolts - 1 - to - 11 -. Tighten bolts in order of numbering. Tightening specifications: 8 Nm





- Press door window - 1 - into window guide - arrow - and tighten clamping brackets with bolts - 2 - (10 Nm).





- Then, perform in reverse order of removal.

Then perform function test.