Operation CHARM: Car repair manuals for everyone.
Manuals through 2025 now available!

Our trusted friends have launched a new website named LEMON, which has newer manuals. It also contains all the CHARM manuals.

LEMON is the spiritual successor to CHARM, I recommend you try it!

Link: lemon-manuals.la or lemon-manuals.org.ua

(Some people have issue connecting. LEMON is investigating. For now, use Firefox or change your DNS server)

Or, hide this message: temporarily or permanently

Ignition Switch: Service and Repair






Electronic Ignition Switch (D9)

Special tools, testers and auxiliary items required

Pliers (VAS 6339)

Coding, basic setting or adaptation is not necessary if Electronic Ignition Switch is replaced.

Removing:

- Switch ignition and all electrical consumers off and disengage the key or ignition switch in position 0 (ignition off).

- Remove steering wheel.

- Remove driver's side panel.

- Push cover - 3 - down with panel - 1 - to gain access to catches of panel - 1 -.





- Press catches of panel - 1 - outward using (VAS 6339) through the recesses - 2 - on both sides.





- Remove trim.

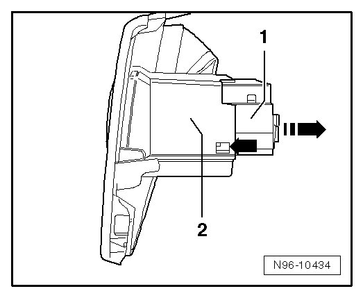
- Remove the bolt - 1 -.





- Release catches - arrow - on both sides and remove Electronic Ignition Switch - 2 - in - direction of arrow - from driver's side panel - 1 -.





Installing:

Install in reverse order of removal.

When installing, make sure electronic ignition switch locks securely in driver's side panel.