Electronic Steering Column Lock Control Module
Electronic Steering Column Lock Control Module
Special tools, testers and auxiliary items required
• Socket insert (T10424)
• Vehicle Diagnosis, Testing and Information System (VAS 5051)
Removing
- Remove steering column. Refer to => [ Steering Column ] Steering Column.
CAUTION!
Correct handling and transport of steering column. Refer to => [ Steering Column, Handling and Transporting ] Steering Column Handling and Transporting.
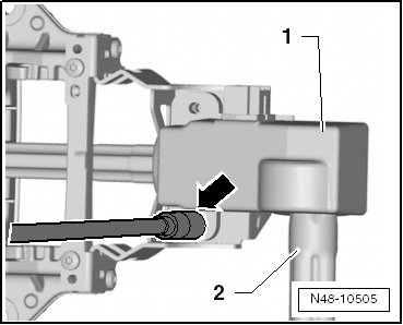
- Carefully tension the steering column - 1 - in the vice using protective pads.
- Carefully move the universal joint - 2 - downward.
- Loosen the lower shear bolt - arrow - using the (T10424).
- Remove any chips with a brush.
CAUTION!
The chips must not get into the steering column.
- Turn the steering column 180° tension it in the vice.
- Carefully move the universal joint - 2 - downward.
• It is necessary to turn the steering column 180° so that any chips that may fall down from above when loosening the shear bolt cannot get into the steering column.
- Loosen the lower shear bolt - arrow - using the (T10424).
- Remove any chips with a brush.
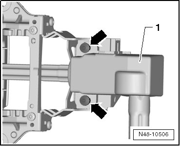
- Remove the electronic steering column lock control module (J764) - 1 -.
Installing
- Install the electronic steering column lock control module - 1 - with new shear bolts - arrows -.
- Tighten the shear bolts - arrows - evenly until the bolt heads shear off.
- Install steering column. Refer to => [ Installing ] Steering Column.
- If the steering column with an electronic steering column lock control module was replaced, then the electronic steering column lock control module must be adapted using the (VAS 5051).
Guided Functions
Select Vehicle System or Function
25 Immobilizer
Adapting Electronic Steering Column Lock
Follow the instructions on the screen to perform the adaptation.
- Perform basic setting for steering angle sensor (G85) with the (VAS 5051).