Operation CHARM: Car repair manuals for everyone.
Manuals through 2025 now available!

Our trusted friends have launched a new website named LEMON, which has newer manuals. It also contains all the CHARM manuals.

LEMON is the spiritual successor to CHARM, I recommend you try it!

Link: lemon-manuals.la or lemon-manuals.org.ua

(Some people have issue connecting. LEMON is investigating. For now, use Firefox or change your DNS server)

Or, hide this message: temporarily or permanently

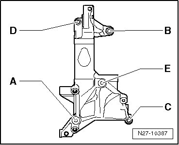
Engine Accessory Bracket






Fastener Tighten Specifications, Auxiliary Component Bracket, Vehicles with A/C

CAUTION!
Always follow the tightening sequence to prevent damaging the cylinder block and the auxiliary component bracket.

Tightening Sequence For The Accessories Bracket On The Cylinder Block





Procedure

- Position the accessories bracket on the cylinder block.

Insert all bolts before tightening to the specification.

- Tighten the bolts on the auxiliary component bracket in the following sequence:

A Socket head fitting bolt, M8 x 28, 23 Nm, alignment bore
B Socket head fitting bolt, M8 x 28, 23 Nm, alignment bore
C Multipoint socket bolt, M8 x 50, 23 Nm
D Multipoint socket bolt, M8 x 50, 23 Nm
E Multipoint socket bolt, M8 x 50, 23 Nm