Operation CHARM: Car repair manuals for everyone.
Manuals through 2025 now available!

Our trusted friends have launched a new website named LEMON, which has newer manuals. It also contains all the CHARM manuals.

LEMON is the spiritual successor to CHARM, I recommend you try it!

Link: lemon-manuals.la or lemon-manuals.org.ua

(Some people have issue connecting. LEMON is investigating. For now, use Firefox or change your DNS server)

Or, hide this message: temporarily or permanently

Air Flow Meter/Sensor: Service and Repair






Mass Airflow Sensor (G70)

Removing

- Disconnect the Mass Airflow (MAF) sensor connector - 2 -.






- Remove the MAF sensor screws and carefully remove it from the engine cover with air filter.

Installing

For problem free operation of the MAF sensor it is very important to observe the following notes and procedures.

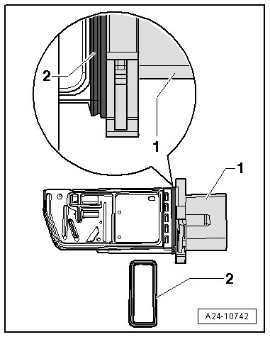
MAF Sensor Seal Installed Position





The smooth side of the seal - 2 - must contact the MAF sensor - 1 - (see the magnified view).

If the air filter element is very dirty or soaked, dirt particles or moisture may have contaminated the MAF sensor and may be causing false mass airflow values. This results in a reduction of power, since a lower injection quantity is calculated.

Always use an original equipment air filter element.

- Replace the seal for the MAF sensor. Make sure it is installed correctly otherwise the air could get in.

- Check the intake air duct (intake air side) for salt residue, dirt and leaves.

- Check the intake passages up to the air filter element for dirt. If any contaminants are discovered, clean the air filter housing (upper and lower parts) of salt residue, dirt and leaves (if necessary, clean by washing or vacuuming).

Further installation is in the reverse order of removal.