Operation CHARM: Car repair manuals for everyone.
Manuals through 2025 now available!

Our trusted friends have launched a new website named LEMON, which has newer manuals. It also contains all the CHARM manuals.

LEMON is the spiritual successor to CHARM, I recommend you try it!

Link: lemon-manuals.la or lemon-manuals.org.ua

(Some people have issue connecting. LEMON is investigating. For now, use Firefox or change your DNS server)

Or, hide this message: temporarily or permanently

Mass Air Flow Sensor

[ With LH-1 Jetronic Injection ONLY ]

TECH TIP: A fast and easy way to check for a faulty air mass meter, (especially if the vehicle will not run) is to unplug the air mass meter harness connector from the air mass meter. Try to start the car, if the vehicle runs, reattach the air mass meter harness connector to the air mass meter. If the car dies as soon as you reattach the connector to the air mass meter, it is faulty. Try this several times to confirm.

*** UPDATED BY TSB #23120 DATED FEB. 1986


Before replacing an air mass meter, the following fault tracing should be performed. In most cases, the problem is related to wiring and connectors.




PREPARE FOR TESTING

1. Disconnect the battery ground cable
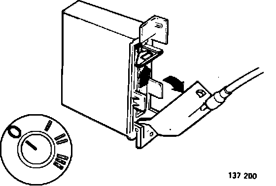
2. Remove right side kick panel
3. Remove connector from the LH control unit (caution should be taken when removing and replacing the connector to prevent damaging the connector housing, as well as the individual connectors).

Removing Protective Cover:




4. Remove connector cover
5. Reinstall the connector to the LH control unit.




6. Peel back rubber cover from air mass meter connector.
7. Reconnect the battery.




The air mass meter for above model year has an aluminum housing. The housing is marked with Bosch Part Number 0 280 212 002. Connector configuration is as illustrated.

CAUTION: There are two types of air mass meters (83-84) and (85-88), they are not interchangeable.




CHECK GROUND(S)

1. Connect an ohm-meter between terminal 36 and ground, and between terminal 6 and ground.

Meter should show less than 1 ohm resistance in both cases. Check wiring continuity if value is higher.




CHECK VOLTAGE SUPPLY

1. Turn ignition ON.
2. Connect a volt meter between terminal 9 and ground.

Meter should show battery voltage. Check wiring and system relay if lower than battery voltage.




CHECK CO-ADJUSTMENT SCREW

1. Turn ignition ON.
2. Connect a voltmeter between terminal 14 at LH control unit connector and ground.

Meter should show 0 to 2.6 volts, depending on CO-screw position.

0.0 volts = max. lean
2.6 volts = max. rich

3. Turn screw on air mass meter and check if voltage changes.

If no voltage or no variation when screw is turned, check wiring continuity.

NOTE: Adjustment screw must be resealed after adjustment.




CHECK AIR MASS METER OUTPUT

1. Turn ignition ON.
2. Connect a voltmeter between terminal 7 at the LH control unit connector and ground.

Meter should show 1.6 volts.

3. START engine and warm up to operating temperature (AC off).
4. Check output at idle (750 rpm).

Meter should show 2.7 volts.

5. Increase engine speed to 3,500 rpm.

Output should increase to 3.5 volts. Check wiring continuity if out of specification.




BURN OFF FUNCTION

1. START engine and warm up to operating temperature (AC off).
2. With engine running at operating temperature connect a volt meter between terminal 8 of the air mass meter and ground.
3. Increase engine speed to 2,500 rpm.
4. Close throttle and let engine slow down to idle speed.
5. Turn ignition OFF.

After approximately 4 seconds, meter should deflect for 1 second. If no reading, check wiring continuity.