Operation CHARM: Car repair manuals for everyone.
Manuals through 2025 now available!

Our trusted friends have launched a new website named LEMON, which has newer manuals. It also contains all the CHARM manuals.

LEMON is the spiritual successor to CHARM, I recommend you try it!

Link: lemon-manuals.la or lemon-manuals.org.ua

(Some people have issue connecting. LEMON is investigating. For now, use Firefox or change your DNS server)

Or, hide this message: temporarily or permanently

Idle Speed

Fig. 267 DISCONNECT THROTTLE CONTROL ROD:





NOTE:
The idle speed is controlled by an electronic control unit (ECU). Do not adjust idle speed, unless it is out of specified tolerances (see emission sticker or "SPECIFICATIONS").

1. Disconnect the throttle control rod at the cable pulley. Fig. 267.
2. Check cable assembly, pulley and throttle for smooth operation.

Fig. 227 IDLE SPEED ADJUSTMENT SCREW:





3. Make sure idle adjustment screw is screwed to the bottom. Fig. 227.

Fig. 271 ELECTRONIC CONTROL UNIT LOCATION:





4. Remove the right front kick panel to access the electronic control unit (ECU). Fig. 271.

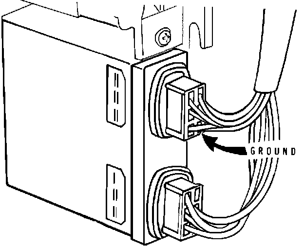
Fig. 222 DEACTIVATE ELECTRONIC CONTROL UNIT:





5. De-activate the electronic control unit (ECU) by grounding terminal #10. Fig. 272. Best way is to insert a copper wire along terminal wire.

Fig. 273 CONNECT TEST LAMP:





6. Connect a test lamp across battery positive terminal and orange wire terminal on micro switch. The test light should not illuminate while adjusting, the electric circuit through the micro switch is interrupted. Fig. 273.

Fig. 274 IDLE SPEED ADJUSTMENT:





7. Start engine, wait an additional five minutes after it has reached operating temperature.
8. Adjust idle speed at throttle position screw Fig. 274. to 875 ± 25 RPM.
9. Do not adjust idle speed at idle screw, it should be screwed to the bottom.
10. Disconnect ground wire from terminal #10 at electronic control unit (ECU) and reinstall kick panel cover.
11. Idle speed should change to 900 ± 20 RPM.

Fig. 277 RECONNECT THROTTLE CONTROL ROD:





12. Reconnect throttle control rod at cable pulley. Disconnect throttle cable and automatic kick-down cable (if equipped). Cable pulley should be completely retracted. Adjust control rod length as necessary. Fig. 277.


Fig. 278 ADJUST THROTTLE CABLE:





13. Attach and adjust throttle cable. Fig. 278.

Fig. 279 ADJUST AUTOMATIC TRANSMISSION KICKDOWN CABLE:





14. Adjust automatic kick-down cable. Fig. 279. Check cable length at closed and open throttle (engine off). Check open throttle cable length by depressing gas pedal, not by actuating linkage by hand.
Closed throttle: L= mm (0.04in)
Open throttle: L= 51mm (2.04in)


Fig. 280 INSTALL FEELER GAUGE:





15. Install a feeler gauge of 0.3mm (0.012in) thickness between throttle position screw and stop. 1982 switch arrangement is slightly different from Fig. 280.

Fig. 281 ADJUST MICRO SWITCH:





16. Turn micro switch adjustment screw Fig. 281. until test light illuminates. Tighten adjustment screw and disconnect all testing equipment.