Operation CHARM: Car repair manuals for everyone.
Manuals through 2025 now available!

Our trusted friends have launched a new website named LEMON, which has newer manuals. It also contains all the CHARM manuals.

LEMON is the spiritual successor to CHARM, I recommend you try it!

Link: lemon-manuals.la or lemon-manuals.org.ua

(Some people have issue connecting. LEMON is investigating. For now, use Firefox or change your DNS server)

Or, hide this message: temporarily or permanently

Ignition System Testing

EZ117K System Testing

Location Of Components:






Wiring Diagram:











Symptom: Engine does not start

Fault tracing

First check whether or not fault is in ignition system by checking for spark at plugs.
Disconnect a plug lead, connect it to a spare plug and operate the starter motor.

Note:
Ensure sparking does not take place in vicinity of other wiring!

Spark present?

Yes Engine or fuel system fault.
No Check for spark at ignition coil:





Connect an ignition lead and plug directly to the coil. Ground the plug and operate the starter motor.

Spark at ignition coil?

Yes Check rotor, distributor cap and HT leads.Correct faults as required.
No Ignition system fault.
Switch off ignition.
See location of components.





Ignition system fault tracing

Inspect ground leads to terminals on intake manifold (twin brown leads).

Checking Supply At Ignition Coil:






K1
Check supply to ignition coil and power stage

Switch on ignition. Measure voltage between ignition coil terminal 15 and ground. Voltmeter reading should be approx. 12 V.

If voltage = 0 V:
Open-circuit in lead from central electrical unit (fusebox). (See wiring diagram.)

Checking Pin 1 And 4:






K2
Disconnect power stage connector

Pull back connector sleeve and connect instrument to rear of connector. Measurement from front may damage terminals, resulting in looseness and poor contact.
Check that voltage between each of connector terminals 1 and 4 and ground is approx. 12 V. Measure individually between each terminal and ground.

If voltage = 0 V:
Open-circuit in lead from central electrical unit (fusebox). (See wiring diagram.)





K3
Switch off ignition.
Check ignition coil primary winding and leads

Measure resistance between terminals 1 and 4 and power unit connector. (This is equivalent of measuring resistance between ignition coil terminals 1 and 15, including leads.)(See wiring diagram.)
Reading should be 0.6 - 0.9 ohm.

other reading:
Ignition coil faulty or short-circuit in leads.

Checking Coil:






Measure directly between ignition coil terminals 1 and 15.

If resistance is correct (0.6 - 0.9 ohm):
Fault in lead between ignition coil and connector.

If resistance is incorrect:
Replace ignition coil.

Checking Coil Primary Winding:






K4
Check ignition coil secondary winding

Measure resistance between HT terminal and terminal 1 on ignition coil.
Resistance should be 6.5 - 9.0 k ohm.
Other reading:
Ignition coil faulty. Replace coil.

Checking Power Stage Ground:






K5
Check power stage ground lead

Measure resistance between connector terminal 2 and ground. Resistance should be 0 ohm.
If reading is different:
Check lead (see wiring diagram). Ground terminal is on intake manifold.





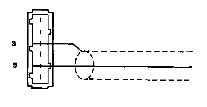
K6
Check screening

Check that screen of lead to terminal 5 is connected to terminal 3.

Checking Terminal #5:






K7
Check signal from control unit to power stage

Disconnect leads from ignition coil terminal 1 (red/white) and 15 (blue).
Measure voltage between terminal 5 in power stage connector and ground. Operate starter motor. Voltmeter should indicate approx. 2 V.
No reading: See K12.
Reconnect coil leads.
Reconnect power stage connector.

Checking Hall-Sensor Terminal #3:






Undo distributor connector

Switch on ignition. Use voltmeter to measure voltage between positive terminal (red lead) and ground.
Reading should be approx. 11 V.





Also measure voltage between terminal 0 (blue lead) and ground.
Correct reading: 5 V.
Switch off ignition.





K8
Check distributor ground lead.

Use ohmmeter to measure resistance between negative terminal (pin 1, black lead) in distributor connector and ground.
Correct value: 0 ohm.
Resistance infinite (i.e. instrument shows max. deflection):
Open-circuit in lead from control unit terminal 10. Internal control unit fault or faulty control unit ground lead (terminal 20). (See K13).
Reconnect distributor connector.

Removing Protective Cover:






Remove panel under left-hand side of instrument panel.
Release catch and remove control unit connector. Undo cover and remove sealing washers. Replace connector without cover or sealing washers, ensuring that terminals are not damaged.





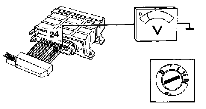
K9
Check Hall generator

Disconnect white/red and blue leads from ignition coil (to prevent arcing damage).
Measure voltage between terminal 24 at rear of connector (blue lead) and ground.

NOTE: Connector must be attached to control unit.

Switch on ignition. Turn crankshaft by hand. Voltmeter should indicate over 1.8 V each time a vane passes Hall generator.
Instrument should read approx. 0 (0 - 0.7 V) each time an opening passes Hall generator.

Correct voltage:
Less than 0.7 V or more than 1.8 V.
Switch off ignition and disconnect voltmeter.
Other voltage:
Faulty Hall generator. Replace unit.

Remove distributor cap and cover.
Undo connector and lift out distributor.

K1O
Replacement of Hall generator
To replace Hall generator, see following section D, operations D1-D10

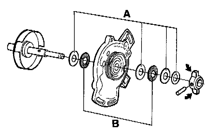
D. Replacement of Hall generator in horizontal (rear-mounted) distributors
Applies to B 200 and B 230 engines





D1

Note position of excentre in relation to groove in shaft.










D2

Mount distributor in vice with soft jaws. Jaws must not bear on excentre guides (see illustration). Tap out locking pin. Smooth off burrs (if any) around edge of hole to prevent damage to bearing seat in housing.





D3

Place distributor on vice and use centre punch to mark rivets securing Hall generator.
Drill out rivet heads with 3.5 mm (0.14 in.) bit. Drill to depth of approx. 1 - 1.5 mm (0.04 in. - 0.06 in.).





D4

Tap out Hall generator using 3 mm (0.12 in.) punch.





D5

Remove connector and leads from distributor housing.










D6

Bend aside tabs and pry off cover over leads.
Press down terminal tags and withdraw leads from connector.
Insert leads of replacement Hall generator.

Wire Positions:






D7

Install Hall generator complete with connector and leads in distributor housing.





Install plastic ring.





D8

Clamp a punch upright, (approx. 10 mm 1.39 in.) in vice.
Position distributor with Hall generator rivet resting on punch.
Centre-punch rivet and lock with ordinary punch.





D9

Mount trigger rotor and spindle (lightly oiled) together with washers.
Mount excentre with chamfered side of tabs facing distributor.
A = flat washers
B = fibre washers





D1O

Insert new locking pin.
Continue with K11






K11
Replace distributor

- Place distributor in cylinder head.
- Turn rotor while pressing unit against head until shaft driver engages recess in camshaft.
- Reconnect connector.
- Install distributor cap and cover.

Removing Protective Cover:






K12
Check control unit leads

Undo control unit connector.

NOTE:
When measuring, do not insert instrument probes into front of connector since this may damage terminals. Insert probes at connector side.






Switch on ignition.
Measure voltage between terminal 6 (blue) and ground. Correct reading: approx. 12 V.

If voltage = 0 V:
Check lead (see wiring diagram).





K13
Check ground lead

Measure voltage between terminals 6 (blue) and 20 (brown).Correct value: 12 V (battery voltage).

If voltage = 0 V:
Check that ground lead is connected to intake manifold.





If previous resistance measurements at distributor connector indicate that all is in order, measurements need not be carried out at terminals 4 (red), 10 (black) and 24 (blue).
Otherwise, measure resistance at corresponding terminals on distributor connector (see wiring diagram). Ohmmeter should read 0 ohm.
Use ohmmeter to check integrity of leads between distributor connector and control unit connector.
If correct reading is obtained at power stage terminal 5 (green), lead 16 (green) need not be tested (see wiring diagram).





If reading is incorrect:
Measure resistance between control unit connector terminal 16 and power stage connector terminal 5.

If lead is intact, control unit is faulty.





Check that test connector (terminal 3 in control unit connector) is not grounded.





K14
Check throttle switch and wiring


NOTE:
Applies only to B 230 F/T.

Measure resistance between control unit connector terminal 7 (orange) and ground.
Resistance should be 0 ohm.
Depress accelerator slightly. Resistance should increase.
Note that resistance will not be infinite since throttle switch is connected in parallel with fuel system control unit.
As a result, switch does not open fully.
In event of fault:
Measure switch resistance directly to determine whether fault is in switch or wiring.





K15
Check microswitch and wiring

Note:
Not applicable to B 230 F/FT.

Measure resistance between terminals 7 (orange) and 11 (black) on control unit connector.

Note:
Microswitch may be connected to terminal 7 or 20. Terminals 11 and 20 are both ground terminals (see wiring diagram).

Ohmmeter should read 0 ohm. Depress accelerator slightly. Resistance should increase to infinity.





K16
Check temperature sensor and wiring

Note:
Applies only to B230K.

Measure resistance between connector terminals 11 and 25.
Correct reading: Approx. 1.9 k ohm at 220 C (700 F).
If reading 0 ohm:
Short-circuit in wiring or sensor.
Measure sensor resistance.
Correct value:
1.9 k ohm at 220 C (700 F).
Replace sensor if value is different.
Measure resistance of leads one at a time.





K17
Check knock sensor leads


Undo knock sensor connector.
Bridge connector terminals at rear.
Use ohmmeter connected across terminals 12 (brown) and 13 (green) in control unit connector to check integrity of leads. In case of open-circuit, check each lead in turn (see wiring diagram).
Switch off ignition.





K18
Check load signal from fuel system control unit

Note:
Applies only to B 230 F/FT.
Measure voltage between terminal 8 (yellow) and ground. Switch on ignition.
Correct reading: approx.11v.
Switch off ignition.
If reading = 0 V:
Lead open-circuited or fuel system control unit faulty (see wiring diagram).
If fault tracing has revealed no fault, replace control unit and/or power stage.