Main Relay (Computer/Fuel System): Testing and Inspection
TESTING PROCEDURE:NOTE: While trouble shooting, always check the wiring, fuses and connectors for good condition and routing. Use the wiring diagrams found in ELECTRICAL DIAGRAMS to supplement your testing efforts.
Fuel Injection, Ignition Control Unit (ECU) And System Relay:
1. Turn ignition OFF.
2. Access fuel injection ECU by removing the passenger side kick panel and glove compartment.
3. Check fuel injection ECU ground connections. They should make good contact and fit tight.
Disconnecting ECU Connector:
4. Remove ECU connector by pressing up the latch and folding out the wire cluster.
Removing Protective Sleeve:
5. Remove connector protective sleeve.
IMPORTANT:
Never check connections from the front. Connectors can get damaged and worsen the problem.
Check connections through the holes in the connector.
Connection pin numbers are printed on the connector side.
Color Code Legend:
Checking System Relay:
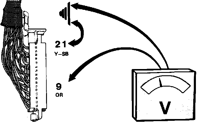
6. Check system relay by connecting a voltmeter between ground and pin 9 at ECU connector.
7. Connect a lead between pin 21 and ground.
8. Relay should activate.
Reading: approx. 12 volts at the meter.
If not, check wiring, in-line fuse to battery and connectors. If wiring is O.K., replace system relay and retest.
Testing Pump Relay In System Relay:
9. Check fuel pump relay (part of system relay) by connecting a lead between ground and pin 20 of the fuel injection ECU connector.
10. Connect a voltmeter between pin 9 and ground.
11. Pump relay should close and run fuel pumps.
a. If fuel pumps start operating, relay is O.K..
b. If fuel pumps don't run, check relay wiring, fuses and fuel pump wiring and connectors. Repair or replace as necessary.
If wiring, fuses and connectors are in good condition, replace system relay and retest.
12. After testing, disconnect all test equipment, reconnect all connectors (including the ECU connector) and remount all panels.