GA. Measuring Instruments
G. Test box, signals tables and connectors
GA. Measuring instruments
A Test box 9813190, complete with cables fitted with connectors (adaptors) for connecting the test box to the various control systems and the combined instrument, is used to facilitate fault tracing.
Test box
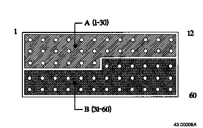
The test box 9813190 consists of a case with 60 measurement socket terminals and a lead fitted with a connector.
The socket terminals are numbered from 1 to 60 as illustrated.
GA1
Control system AW (TCM) Engine management system EZ129K (ICM), LH 3.2 (MFI) control modules
The following applies when connecting the test box to AW, LH 3.2 and EZ129ZK control systems which are fitted with 30+30 pin connecters (A+B):
Connector A (engine side) uses socket terminals 1-30 which correspond to #A1-#A30 on the control module.
Connector B (car side) uses socket terminals 31-60 which correspond to #B1-#B30 on the control module.
Adaptor 9813195 is used for connection purposes.
GA2
Fenix 5.2 and Motronic 4.3 MFI control systems
The following applies when connecting the test box to Fenix 5.2 and Motronic 4.3 control systems which are fitted with 43+43 pin connecters (A+B):
Use two test boxes (A and B) together with adaptor 9511351. The adaptor is fitted with two connectors marked A and B respectively.
Connector A (engine side) uses socket terminals 1-43 on the test box A which correspond to #A1-#A43 on the control module.
Connector B (car side) uses socket terminals 1-43 on the test box B which correspond to #B1-#B43 on the control module.
GA3
Combined instrument
The test box and adaptor 9813194 are connected to the 30-pin connector on the combined instrument. Use socket terminals 1-30.
GA4
Using the Test box
1 Measurement with control module in circuit (circuit in operation)
The test box (or boxes) and adaptor9813195 or 9511351 are connected between the control module and the control module box connector. This enables voltage measurements to be carried out with the engine running.
2 Measurement with control module disconnected (split circuit)
The measuring box (or boxes) and adaptor 9813195 or 9511351 are connected either to the control module connector or to the connector on the control module box. This enables resistance measurements to be carried out in each circuit without influence from other systems.
3 Measurement in combined instrument
The measuring box and adaptor 9813194 are connected to the 30-pin connector (A) in the combined instrument.