Operation CHARM: Car repair manuals for everyone.
Manuals through 2025 now available!

Our trusted friends have launched a new website named LEMON, which has newer manuals. It also contains all the CHARM manuals.

LEMON is the spiritual successor to CHARM, I recommend you try it!

Link: lemon-manuals.la or lemon-manuals.org.ua

(Some people have issue connecting. LEMON is investigating. For now, use Firefox or change your DNS server)

Or, hide this message: temporarily or permanently

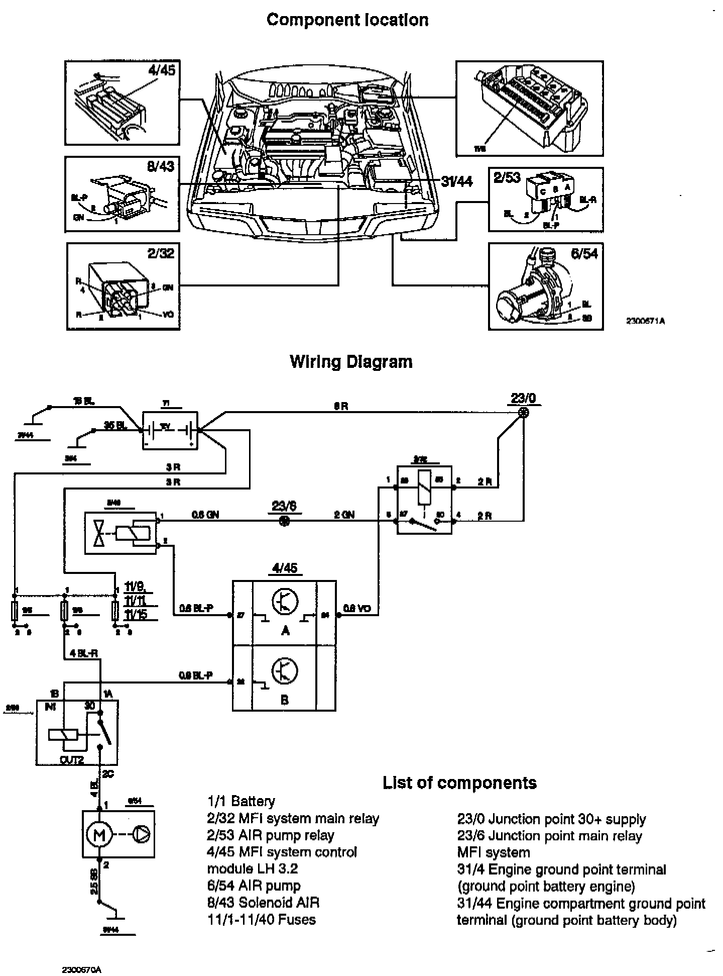
Air Injection: Testing and Inspection

SECONDARY AIR INJECTION SYSTEM





The AIR System Consists of:
^ Air Pump (1) which is activated via the Air Pump Relay (2). The Air Pump is fitted with a filter and its inlet manifold is directed towards the side member to avoid taking in dirt and water. Pump and relay are protected by a 40 amp fuse located in the central electrical unit. A bimetal circuit breaker in the pump, which can be reset, opens if the system overheats.
^ Shut-off valve (3) which regulates the air supply to the exhaust manifold.
^ Solenoid (4) which controls the shut-off valve using under-pressure in the intake manifold.
^ Non-return valve (5) which prevents exhaust gases from returning to the pump when the system is not in operation.

The LH-control module controls the Air Pump Relay and the solenoid which start the Air Pump and open the exhaust valve when the system is activated. Air travels from the pump to the exhaust manifold via the shut-off valve and the non-return valve.

If engine coolant temperature is between 10°C and 30°C (50°F - 85°F) and the car is running, then the auxiliary air system is activated 20 seconds after the engine is started. Once the system has been activated it runs for 45 to 120 seconds depending on the coolant temperature.

FAULT-TRACING AND REPAIR

Conditions:
^ No Diagnostic Trouble Codes (DTCs).
^ Permanent fault.

Causes of Fault:
^ Air Pump Relay signal wiring short circuited to ground or battery voltage.
^ Break in Air Pump Relay signal or battery voltage wiring.
^ Defective Air Pump Relay.
^ Solenoid signal wiring short circuited to ground or battery voltage.
^ Break in solenoid signal or battery voltage wiring.
^ Defective solenoid.
^ Contact resistance in terminals.
^ Break in Air Pump battery voltage wiring.
^ Blocked air intake.
^ Leaking or blocked vacuum hoses.
^ Defective Air Pump.





Checking Air Pump and Solenoid
^ Carry out Output Device Test - Diagnostic Test Mode 3. SEE COMPUTERS AND CONTROL SYSTEMS / SYSTEM DIAGNOSTICS.
^ Diagnostic Test Mode 3 can be carried out using the push-button function on the diagnostic output or the Volvo System Tester (VST).
^ The control module should activate the Air Pump first via the Air Pump Relay and then the solenoid.

If both the Air Pump and the solenoid are activated:
- See: Checking Hoses section below.
If the Air Pump is activated but not the solenoid.
- See: Checking Solenoid section below.
If the solenoid is activated but not the Air Pump.
- See: Checking the Air Pump Relay section below.





Checking the Air Pump Relay
^ Ignition OFF.
^ Disconnect connectors A and B on the Air Pump Relay.
^ Connect an ohmmeter between connectors A and B on the Air Pump Relay.

The ohmmeter should read 70 - 90 Ohms.

If the reading is OK:
- See: Checking the Wiring section below.
If the reading is abnormal:
- Install a new Air Pump Relay.





Checking the Wiring
^ Ignition OFF.
^ Connect Air Pump Relay.
^ Connect test box to ECM and check the ground terminals in accordance with wiring diagram.
^ Connect an ohmmeter between test box #52 (ECM B22) and #10 (ECM A10).

The ohmmeter should read 70 - 90 Ohms.

If the reading is OK:
- Checking the signal wiring.
If the reading is 0 Ohms:
- Check the wiring between connector B on the Air Pump Relay and ECM B22 for a short circuit to battery voltage.
If the reading is greater than 90 Ohms:
- See: Checking for Breaks section below.





Checking for Breaks
^ Ignition OFF.
^ Disconnect connector B on the Air Pump Relay.
^ Test box connected. Connect an ohmmeter between connector B on the Air Pump Relay and #52 (ECM B22) on the test box.

The ohmmeter should read about 0 Ohms.

If the reading is OK:
- Check the wiring between connector A on the Air Pump Relay and fuse 11/8 for breaks.
If the reading is abnormal:
- Check the wiring between connector B on the Air Pump Relay and ECM B22 for breaks.





Checking the Signal Wiring
^ Ignition OFF.
^ Disconnect connector B on the Air Pump Relay.
^ Test box connected.
^ Control module disconnected. Connect an ohmmeter between connector B on the Air Pump and #20 (ECM A2O) on the test box.

The ohmmeter should read infinity.

If the reading is OK:
- See: Checking Relay Function section below.
If the reading is abnormal:
- Check the wiring between connector B on the Air Pump Relay and ECM B22 for a short circuit to ground.





Checking Relay Function
^ Ignition ON.
^ Test box connected.
^ Connect control module.
^ Disconnect connector C on the Air Pump Relay. Connect a voltmeter between connector C (to the relay) and #20 (ECM A20) on the test box.

The voltmeter should read about 0 Volts.

If the reading is OK:
- See: Checking Relay Activation section below.
If the voltmeter reads battery voltage:
- Install a new Air Pump Relay.





Checking Relay Activation
^ Ignition ON.
^ Test box connected.
^ Control module connected.
^ Connect a voltmeter between the Air Pump Relay connector C (to the relay) and #29 (ECM A29) on the test box.
^ Carry out Output Device Test - Diagnostic Test Mode 3. SEE COMPUTERS AND CONTROL SYSTEMS / SYSTEM DIAGNOSTICS.
^ Diagnostic Test Mode 3 can be carried out using the push-button function on the diagnostic output or the Volvo System Tester (VST).
^ The control module should activate the Air Pump first via the Air Pump Relay and then the solenoid.

Check that the voltmeter varies from 0 volt to battery voltage when the control module activates the Air Pump Relay.

If the voltmeter varies from 0 Volts to battery voltage.
- Install a new Air Pump.
If the voltmeter remains on 0 Volts:
- Install a new Air Pump Relay.





Checking Solenoid
^ Ignition OFF.
^ Disconnect solenoid connector.
^ Connect an ohmmeter between terminals 1 and 2 on the solenoid connector.

The ohmmeter should read 30 - 35 Ohms.

If the reading is OK:
- See: Checking the Wiring section below.
If the reading is abnormal:
- Install a new solenoid.





Checking the Wiring
^ Ignition OFF.
^ Connect solenoid connector.
^ Connect test box to LH and check ground terminals in accordance with wiring diagram.
^ Connect an ohmmeter between #27 (ECM A27) and #19 (ECM A19) on the test box.

The ohmmeter should read 30 - 35 Ohms.

If the reading is OK:
- See: Checking Signal Wiring section below.
If the reading is about 0 Ohms:
- Check the wiring between connector 2 on the solenoid connector and ECM A27 for a short circuit to battery voltage.
If the reading is greater than 30 - 35 Ohms:
- See: Checking for Breaks section below.





Checking for Breaks
^ Ignition OFF.
^ Disconnect solenoid connector.
^ Test box connected.
^ Connect an ohmmeter between terminal 2 on the solenoid connector and #27 (ECM A27) on the test box.

The ohmmeter should read about 0 Ohms.

If the reading is OK:
- Check the wiring between the solenoid connector terminal 1 and the main relay (2/32) for breaks.
If the reading is abnormal:
- Check the wiring between terminal 2 on the solenoid connector and ECM A27 for breaks.





Checking Signal Wiring
^ Ignition OFF.
^ Disconnect solenoid connector.
^ Test box connected.
^ Connect an ohmmeter between the solenoid connector terminal 2 and #20 (ECM A20) on the test box.

The ohmmeter should read infinity.

If the reading is OK:
- Install a new solenoid.
If the reading is abnormal:
- Check the wiring between terminal 2 on the solenoid connector and ECM A27 for a short circuit to ground.





Checking Hoses
^ Use a vacuum pump to check that no hoses are leaking or blocked.
^ Check that no hoses from the Air Pump are pinched or chafed.
^ Check that the Air Pump inlet is not blocked.
^ Check that the Air Pump is blowing air when it is in operation.
^ Check that the shut-off valve is open when there is low pressure in the vacuum terminal.
^ Check that the non-return valve does not stick and is not blocked.





Component Location / Wiring Diagram