Operation CHARM: Car repair manuals for everyone.
Manuals through 2025 now available!

Our trusted friends have launched a new website named LEMON, which has newer manuals. It also contains all the CHARM manuals.

LEMON is the spiritual successor to CHARM, I recommend you try it!

Link: lemon-manuals.la or lemon-manuals.org.ua

(Some people have issue connecting. LEMON is investigating. For now, use Firefox or change your DNS server)

Or, hide this message: temporarily or permanently

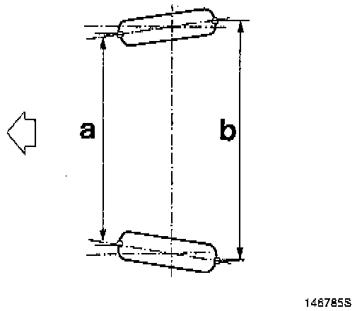
Toe














Toe-in means that each wheel is aligned with the front pointing slightly inward. Toe-in may either be measured as an angle or as the difference between Dimensions a and b. Incorrect toe-in (or toe-out) gives rise to vibrations, leading to increased tire wear (caused by lateral tire scrub). Excessive toe-in often causes wear of the tire outer shoulders. Correct toe-in gives the correct driving "feel" through the steering wheel and contributes to directional stability. Toe-in is adjusted by lengthening or shortening the tie rods (track rods).

NOTE: In all cases, toe-in must be adjusted in relation to the thrust axis of the car as derived from the toe-in angles of the rear wheels.