Operation CHARM: Car repair manuals for everyone.
Manuals through 2025 now available!

Our trusted friends have launched a new website named LEMON, which has newer manuals. It also contains all the CHARM manuals.

LEMON is the spiritual successor to CHARM, I recommend you try it!

Link: lemon-manuals.la or lemon-manuals.org.ua

(Some people have issue connecting. LEMON is investigating. For now, use Firefox or change your DNS server)

Or, hide this message: temporarily or permanently

Threads, Reconditioning



Threads, Reconditioning

NOTE: As the illustrations in this service information are used for different model years and/or models, some variation may occur. However, the essential information in the illustrations is always correct.

Thread Inserts, General







Damaged threads can in most cases be reconditioned using HELICOIL thread inserts.
Thread inserts are available in a variety of sizes, pitches and lengths. A correctly reconditioned thread will generally increase the strength of a joint.

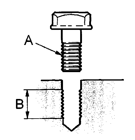
Designation of thread insert







Measure the old threads and thread length in the hole.
A: Thread.
B: Thread length.

Drilling and tapping new thread in the hole







Drill out the old threads using the correct diameter drill bit.
Blow the hole clean.

Tap the new thread using the correct tap.

NOTE: The thread taps referred to in the text are specially made for use with HELI-COIL.

Use denatured alcohol or similar to lubricate the threading operation in aluminum. Thread longer threads in stages, backing out the tap and blowing the tap and the hole clean in between.

Thread the hole to the proper depth (or through if it is to be threaded throughout).
C: drill depth.
D: cutting phase.

Tools required for installation
The installation tool (illustrated) is used for threads M6 - M14. During some operations the tool must be disassembled by removing the locking ring, for example with countersunk threads.







For threads M16 and larger the specific tool for each
thread size must be used The guide and mandrel are
included.

Installing the thread insert in the installation tool







Locate the thread insert with the tang facing down in the tool.

Turn the spindle until the tang engages in the recess.

Screw the thread insert into the guide, do not apply pressure, until the first turn of the thread insert is flush with the guide opening.
A: Tang.
B: Guide.
C: Mandrel.

Installation of thread insert







Hold the installation tool straight above and centered over the hole. Screw in the insert without applying pressure on the spindle handle. Screw in until the end of the insert reaches at least half a thread revolution into the thread.

The insert must not touch the bottom of the hole or stick out of the other side if it is a through hole.

Break off the tang using the proper tang breaker. For M14 threads and coarser, use a pair of flat-nosed pliers or similar and break downwards.

Extraction of damaged thread insert







Alternative 1
File a notch in the thread insert, about a quarter turn in from the end. Do not file through the insert.

NOTE: Take care not to damage the thread in the bore.

Use a triangular scraper or similar to extract the insert by rotating it.

Alternative 2
Carefully expose the end of the thread insert. Use flat-nose pliers to pull the thread insert out. Clean out the threads in the hole using the thread tap and blow clean. Install a new thread insert.

Reconditioning sparkplug threads

NOTE: Reconditioning of sparkplug threads must be carried out with the cylinder head removed.

Tapping thread in sparkplug hole







Use combination tap 998 5823-5 and thread repair inserts for spark plug thread M14*1,25.

NOTE: Do not drill out sparkplug threads.

Combined tap
A:
Tap.
B: Reamer.
C: Steering.

Installation of thread insert
There are times when the cap nut cannot be used because of space restrictions. On these occasions the guide should be taped into place.







NOTE: For thread inserts for the spark plug threads that are finer than usual it is important not to apply pressure on the tang when threading (both in the guide and the material).

Twist the thread insert down and check that the upper thread is at least a half thread down into the thread and that none of the insert protrudes into the combustion chamber.

If the insert has been screwed in too far it must be turned until it is all the way through. If it is not deformed it can be inserted again.

Break off the tang with a pair of flat nose pliers. Check the thread. Install a sparkplug.

Thread table







Threads which must not be reconditioned
Coolant outlet for the drain nipple, heat exchanger/oil cooler.
Plug hole for crankshaft setting.
Screw holes for cylinder head screws.