Operation CHARM: Car repair manuals for everyone.
Manuals through 2025 now available!

Our trusted friends have launched a new website named LEMON, which has newer manuals. It also contains all the CHARM manuals.

LEMON is the spiritual successor to CHARM, I recommend you try it!

Link: lemon-manuals.la or lemon-manuals.org.ua

(Some people have issue connecting. LEMON is investigating. For now, use Firefox or change your DNS server)

Or, hide this message: temporarily or permanently

Firewall: Service and Repair

Floor, frame section, wheel arch and firewall

Side member, front

Special tools:

999 7072

Note: The illustrations in this service information are used for different model years and/or models. Some variation may occur. However, the essential information in the illustrations is always correct.

Preparatory work (common to both methods)

Preparatory work






When welding body components, see: Welding, general.

Remove components. See: Front section, exposing.

Determine the extent of the damage. See: Side members/wheel arches front, alignment chart and: Front section, dimensions chart.

Method contents

This method consists of:

Side member lower, replacement

Side member, upper, replacing.

Side member lower, replacement

Removing the outer section of the lower side member






If the entire side member does not need replacing, see the cutting point in the illustration.

Remove:

- the support plate

- the front side panel. See: Front side panel, replacing

- the wheel arch: Wheel housing front.

Cut the side member 30 mm (M1) from the 2 square holes or replace the entire member.

Grind and drill out the member.

Removing the inner section of the lower side member






If the entire side member does not need replacing, see the cutting point in the illustration.

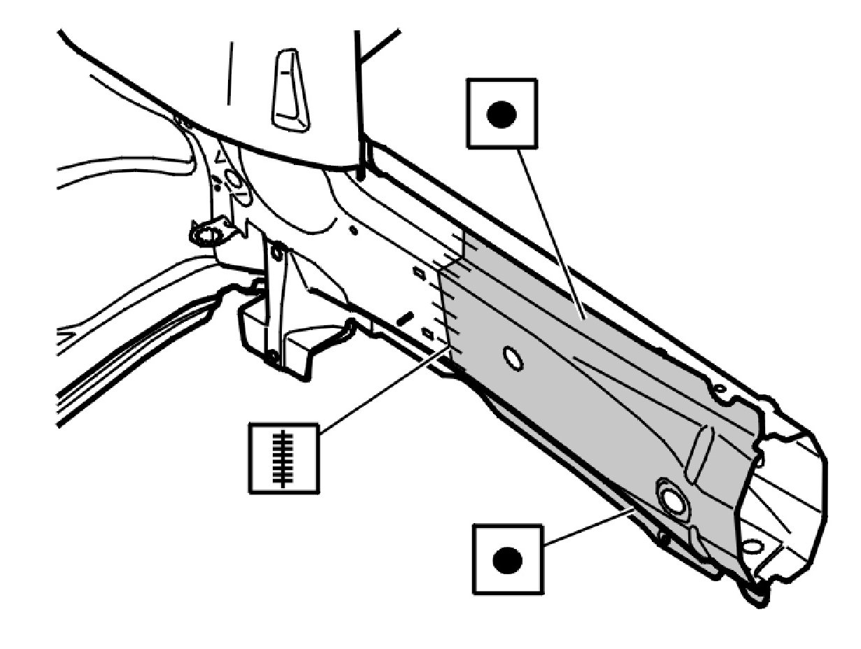
Cutting point (1)

This cutting point is used in the event of minor damage to the side member.

Cutting point (1) is located 180 mm (M2) from the end of the member.

Take care when sawing, as there is a reinforcement inside. See the shaded part of the illustration.

Cutting point (2)

Cutting point (2) is located 680 mm (M3) from the end of the member.






If the member is cut at cutting point (2), remove the upper part of the side member extension.






Remove the outer part of the cross member cowl panel.

Installing the inner section of the lower side member






Grind clean.

Apply welding primer.

Seam-weld the join.

Spot-weld the replacement part. Tip diameter 8 mm.

For location of the spot-weld, see: Location of the spot-weld.

Also see Welding, general.

Weld the outer part of the cross member cowl panel.






Drill 8 mm diameter holes for plug welds.

Weld the side member extension into place.

Installing the outer section of the lower side member






Grind clean.

Apply welding primer.

Spot-weld the replacement part. Tip diameter 8 mm.

For location of the spot-weld, see below.

Also see Welding, general.






Location of the spot-weld

Installing components






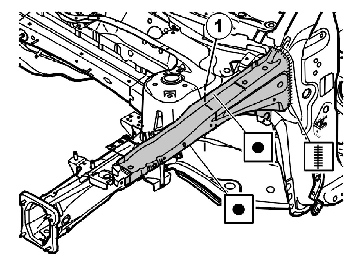
Seam-weld the collar into place using 8 welding seams each measuring 30 mm. See the illustration.

Install:

- the wheel arch. See: Wheel housing front.

- the front side panel. See: Front side panel, replacing.

Carry out finishing work. See: Finishing work (common to both methods).
Side member, upper, replacing

Removing the outer section of the upper side member






Drill or grind out the spot welds.

Cut off the damaged section.

The member can also be joined at (1).

Note: If the inner section is joined, the distance between the joins must be at least 50mm.

Removing the inner section of the upper side member






Drill or grind out the spot welds.

Cut off the damaged section.

Installing the inner section of the upper side member

Grind clean.

Apply welding primer.

Secure the upper side member.

Spot-weld the replacement part.

Tip diameter against the suspension turret: 6 mm.

Tip diameter against the wheel arch: 4.5 mm.

Carry out finishing work. See: Finishing work (common to both methods).
Installing the outer section of the upper side member

Grind clean.

Apply welding primer.

Secure the upper side member.

Spot-weld the replacement part.

Tip diameter 8 mm.

Finishing work (common to both methods)

Supplementary work and installing components

Seal. See: Body seal.

Rustproof. See: Rustproofing.

Install components. See: Front section, exposing.