Operation CHARM: Car repair manuals for everyone.
Manuals through 2025 now available!

Our trusted friends have launched a new website named LEMON, which has newer manuals. It also contains all the CHARM manuals.

LEMON is the spiritual successor to CHARM, I recommend you try it!

Link: lemon-manuals.la or lemon-manuals.org.ua

(Some people have issue connecting. LEMON is investigating. For now, use Firefox or change your DNS server)

Or, hide this message: temporarily or permanently

Function






Function

Controlling the climate in the passenger compartment




The way in which the climate in the passenger compartment is regulated depends on the type of climate control module (CCM) in the car.
ECC
Electronic climate control means that either manual settings or the AUTO function can be used. In the latter case the control module automatically regulates heat, air conditioning, recirculation and air distribution until the selected temperature is achieved.
Manual climate control (MCC)
Manual climate control means that heat, air conditioning, recirculation and air distribution must be selected manually.
Climate control module (CCM) (3/112) regulates the following:
- Activation of the air conditioning (A/C) compressor (8/3) using a request via the controller area network (CAN) to the engine control module (ECM) (4/46)
- Controlling the damper motors. For ECC (6/48), (6/95), (6/96), (6/102) and (6/103). For MCC (6/48), (6/95), (6/102) and (6/103)
- The speed of the blower fan (6/28) using a request to the central electronic module (CEM) (4/56) via the controller area network (CAN).
The climate control module (CCM) regulates the climate in the passenger compartment based on the following input signals:
- Passenger compartment temperature, signal from the passenger compartment temperature sensor (6/117)
- Outside temperature, signal from the outside temperature sensor (7/69) via the central electronic module (CEM) on the controller area network (CAN)
- The evaporator temperature, signal from the evaporator temperature sensor (7/41)
- Status of the side window, signals from the driver door module (DDM) (3/126) and passenger door module (PDM) (3/127) via the controller area network (CAN)
- Status of the doors, signal from the central electronic module (CEM) via the controller area network (CAN)
- The sun intensity, signal from sun sensor (7/12) via the central electronic module (CEM). After structure week 200746, there are 2 signals, one for the right-hand side and one for the left-hand side.
- Speed, signal from the brake control module (BCM) (4/16) via the controller area network (CAN)
- Status of the windshield wipers, signal from the steering wheel module (SWM) (3/254) via the controller area network (CAN).
The climate control module (CCM) (for ECC) uses information about the status of the side windows and doors to determine how it should compensate for changes in the passenger compartment temperature. If any side windows or doors are opened, the climate control module (CCM) will not compensate for a change in the passenger compartment temperature. Instead it maintains the same level of climate control for the compressor and blower fan as before.
The climate control module (CCM) (for ECC) uses the signal from the steering wheel module (SWM) indicating that the windshield wipers are on. This is to regulate the blower fan and the damper motor to remove any mist from the inside of the windshield when it rains.
For vehicles manufactured before structure week 200745, the following applies:
The climate control module (CCM) (for ECC) uses the signal from the sun sensor to compensate for high sun intensity. This is done by lowering the temperature of the ventilation air, altering air distribution and increasing the speed of the blower fan.
For vehicles manufactured after structure week 200746, the following applies:
The Climate control module (CCM) for ECC registers the sun intensity on the left and right sides. Using these signals, the Climate control module (CCM) compensates for the high sun intensity.
This is done by reducing the temperature of the ventilation air on the affected side. The distribution of air is altered and the speed of the passenger compartment fan is increased.
The climate control module (CCM) uses the signal from the evaporator temperature sensor to control the activation of the air conditioning (A/C) compressor. If the signal from the evaporator temperature sensor indicates an evaporator temperature below 6 °C, the compressor is not permitted to start because of the risk of freezing.
To maintain a constant flow of air in the passenger compartment, the climate control module (CCM) (for ECC) uses the speed signal from the brake control module (BCM) to regulate the speed of the blower fan. Generally, as the speed of the car increases the speed of the blower fan decreases.
At higher speeds the flow of air into the fresh air damper is adjusted.
When adjusting the climate settings manually, such as setting the temperature, this is displayed on the infotainment control module (ICM). The climate control module (CCM) transmits a signal to the infotainment control module (ICM) (16/1) via the controller area network (CAN).

Electrical additional heater
Vehicles with diesel engines have an electrical additional heater on certain markets.
Climate control module (CCM) (3/112) checks the function of the electrical additional heater.
The central electronic module (CEM) transmits information regularly to the climate control module (CCM), for example, about the permitted size of the output voltage.
For further information, see Design and Function, central electronic module (CEM), and Design and Function, climate control module (CCM).

Regulating seat heat




The seat heaters are activated using the switches on the climate control module (CCM) (3/112). The function is normally switched off. When activating the seat heaters, the first position is high temperature. If the button is pressed again, the temperature will be low. The status of the indication is displayed via LEDs. The climate control module (CCM) transmits information about the selected temperature to the relevant seat heating module (SHM) on the relevant LIN bus. The seat heating module (SHM) then controls the current to the heater pads.
Each seat heating module (SHM) then transmits its present status to the climate control module (CCM).
Communication between the climate control module (CCM) and each seat heating module (SHM) takes place in the following way:
- seat heating module (SHM), left (9/12) on LIN bus 1
- seat heating module (SHM), right (9/13) on LIN bus 2.
The climate control module (CCM) receives information from the central electronic module (CEM) (4/56) about the type of seat and upholstery via the controller area network (CAN). The levels for high and low temperature are adapted for the relevant seat and upholstery by the climate control module (CCM). To a certain extent, the levels for high and low temperature can be adapted to the wishes of the customer using VIDA.

Recirculation control (electronic climate control only)




For ECC, the climate control module (CCM) (3/112) controls the recirculation during the following conditions:
- the recirculation switch is on (the LED lights orange)
- the system is in AUTO mode and there is a large difference between the desired and current temperature
- the car is equipped with an air quality sensor (AQS), and the recirculation switch is on (the LED lights green).
The air quality sensor (AQS) (7/159) transmits a signal to the climate control module (CCM) if it detects raised concentrations of pollutants in the outside air. When this occurs, the climate control module (CCM) transmits a signal to the damper motor for recirculation (6/48) to close the fresh air damper and to use recirculated air.
The degree of recirculation is controlled by the signal from the air quality sensor (AQS):
- signal 1 provides partial recirculation for speeds below 85 km/h, no recirculation for speeds exceeding 85 km/h
- signals 2 and 3 provide 100% recirculation.
If the high level of pollutants remains the system stays in recirculation for certain time, maximum of 10 minutes. The time that the system is recirculating is determined by the outside temperature, if air conditioning (A/C) is on or the windshield wipers are activated. The system returns to fresh air for a short time before recirculation is resumed. The particle filter absorbs most of the pollutant entering the passenger compartment during this time. The maximum time prevents misting and musty air.
The air quality sensor (AQS) transmits information about the content of pollutants to the climate control module (CCM). This information is graded into four levels, and the information used for diagnosis.
Recirculation is never permitted if defroster is selected. The climate control module (CCM) also requests compressor activation when the evaporator temperature exceeds 3 °C.

Regulating humidity




The humidity sensor checks for condensation on the windscreen. In the event of a risk of condensation, it sends a signal via serial communication to the Central electronic module (CEM) (4/56), which forwards the signal to via the CAN network to the Climate control module (CCM). Climate control module (CCM) (3/112) receives the signal and reacts as follows:
1. Dries the incoming air by reducing the set point of the evaporator.
2. Starts taking in more fresh air. If the Air quality sensor (AQS) (7/159) has transmitted signals to the Climate control module (CCM) to close the fresh air damper, the Climate control module (CCM) ignores the signal and opens the fresh air damper.
3. Transmits signals to the Damper motor module (DMM) defroster (6/102) to increase the air flow on the front windscreen.
4. Increases the speed of the blower fan by transmitting a signal to the Central electronic module (CEM).

Heated rear windshield and door mirrors




The heated rear windshield and door mirrors are activated by pressing the switch on the climate control module (CCM) (3/112). The climate control module (CCM) transmits information via the controller area network (CAN) indicating the status of the electrical heating to the following:
- central electronic module (CEM) (4/56)
- driver door module (DDM) (3/126)
- passenger door module (PDM) (3/127).
For further information, see Design and Function, door control modules (DDM/PDM) and Design and Function, central electronic module (CEM).
On vehicles with certain diesel engines the rear demist can start without manual activation. This means that the engine sometimes needs to reach a much greater working temperature to burn soot particles that are trapped in the particle filter.
By starting the rear demist, together with other actions, the vehicle's alternator is loaded and the engine coolant temperature rises.
Read more detailed information about this function in Design and Function, Engine control module (ECM).

Regulating the climate in the passenger compartment of the C70
The climate control is regulated slightly differently in the C70 when operating the electric retractable roof. When the roof is opened, the rear windshield defroster switches off. When the roof is then closed, the defroster switches on again. When the roof is open and the climate control is in the auto mode, the passenger compartment temperature sensor (6/117) is deactivated.

Switches on the keypad




In principle, the keypad on the climate control module (CCM) can be divided into an upper and lower section. The switches on the lower section directly affect the climate control module (CCM) (3/112) by activating the following functions. For example:
- climate control
- activation of the seat heaters
- etc.
The upper section covers functions of the infotainment system. When these switches are activated, the climate control module (CCM) transmits a signal to the infotainment control module (ICM) (16/1) via the controller area network (CAN). When switches on the keypad are activated, the climate control module (CCM) will light any LEDs, even if the function is not available for any reason.
For further information, see Design and Function, infotainment control module (ICM).

Activation of STC/DSTC (-2006, does not apply to C70)




The STC/DSTC function is activated using the switch (3/95) on the center console. The ignition key must be in position II and the engine running for the climate control module (CCM) (3/112) to accept activation of this function. During activation and deactivation, the climate control module (CCM) transmits a signal indicating the selected status for STC/DSTC to the brake control module (4/16) via the controller area network (CAN).
The brake control module (BCM) then transmits a signal to the climate control module (CCM) indicating that the STC or DSTC function is on or off. The climate control module (CCM) uses this information to light and turn off the LED in the switch.
For further information about STC/DSTC, see Design and Function, brake control module (BCM).

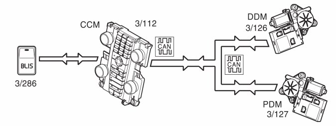
Activating BLIS (2007-, does not apply to C70 2007)




The function for "blind spot" warning (BLIS) is activated using the switch (3/286) located in the tunnel console.
The ignition key must be in position II and the engine running for the climate control module (CCM) (3/112) to accept activation of this function.
When activating BLIS, the Climate control module (CCM) transmits a signal, about the selected status via the CAN network to the Driver door module (DDM) / Passenger door module (PDM).
The Driver door module (DDM) / Passenger door module (PDM) then transmit a signal to the Climate control module (CCM) about whether the BLIS function is on or off.
The Climate control module (CCM) uses the information to light and extinguish the LED on the switch.
For further information about BLIS, see Design and Function, door control modules.

Activating the parking assistance system (PAS) (2008-)




The function for parking assistance system (PAS) is activated using the switch (3/286) located in the tunnel console.
The ignition key must be in position II and the engine running for the climate control module (CCM) (3/112) to accept activation of this function.
When activating parking assistance system (PAS), the Climate control module (CCM) transmits a signal, about the selected status via the CAN network to the Parking Assistance Module (PAM) (4/86).
Parking Assistance Module (PAM) then sends a signal to the Climate control module (CCM) stating whether the parking assistance function is on or off.
The Climate control module (CCM) uses the information to light and extinguish the LED on the switch.
For more information about the parking assistance system (PAS), see design and function, Parking Assistance Module (PAM).

Activating automatic start/stop of engine (only on vehicles with the function automatic start/stop of engine)




The function automatic start/stop of engine is activated with the switch (3/286) located in the tunnel console.
The ignition key must be in position II and the engine running for the climate control module (CCM) (3/112) to accept activation of this function.
When activating the function automatic start/stop of engine, Climate control module (CCM) sends a signal about chosen status of the function to Engine control module (ECM) (4/46) via the CAN-net.
Then, Engine control module (ECM) sends a signal to Climate control module (CCM) if the function automatic start/stop of engine is on or off.
The Climate control module (CCM) uses the information to light and extinguish the LED on the switch.
For more information about the function automatic start/stop of engine, see Design and Function, Automatic start/stop of engine.