Dashboard Environment Panel (including Climate Control Module (CCM)), Replacing
Dashboard environment panel (including climate control module (CCM)), replacing
Preparations
Note! Read off data from the control module before replacing the control module. This is carried out via VIDA vehicle communication. After replacing the control module, the relevant parameters must be programmed into the new control module.
Replacing dashboard environment panel
Ignition off.
Remove the key.
Note! The key must be removed to ensure that the ignition is not switched on by mistake.
Note! After the key has been removed: Wait 3minutes before starting work.
V70
V70 has a pen holder above the gear selector panel. Remove it. See Pen holder Pen Holder.
Remove the panel (1) above the gear selector:
Carefully pry off at the back using a weatherstrip tool.
S80
Remove the panel (1) above the gear selector:
Carefully pry off at the back using a weatherstrip tool.
Note! The gear selector must be in the rearmost position before the dashboard environment panel can be removed.
Remove:
- the two screws (2) on the lower edge of the panel.
- the panel (3).
Note! The radio component and the dashboard environment panel are complementary and are mounted at the join with hooked mountings.
Hint: To facilitate removal: Angle the dashboard environment panel outwards so that it is possible to insert a couple of fingers between the centre console and the dashboard environment panel.
Pull the dashboard environment panel downwards at the same angle.
Hint: The dashboard environment panel is correctly secured. Force is required to remove it.
- connectors.
Lift out the panel.
Install:
In reverse order.
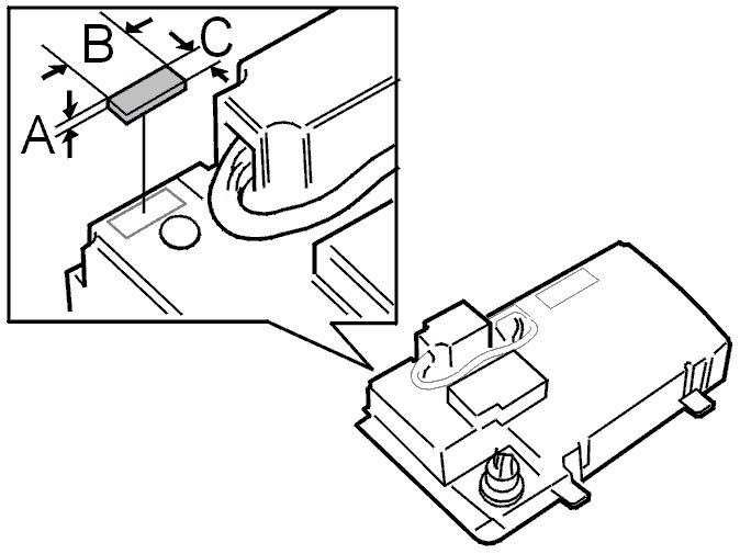
Note! If any of the outer hooks break off, this must be "rectified". Tape the 3.5mm thick component measuring 20 X 20mm to the reverse of the dashboard environment panel. Use double-sided adhesive tape. Fix the other side of the piece with double-sided adhesive tape so that there is a solid anchorage when reinstalling against the centre console.
Front panel, replacing
Removal
- Remove the dashboard environment panel. See Replacing dashboard environment panel.
- Remove the panel for the switches. See Replacing climate control unit switches Replacing Climate Control Unit Switches.
- Remove the rear cover.
Front panel
- Release the catches. Pull off the front panel.
Note! Be careful if the front panel is to be reused. The panel has double-sided adhesive tape on the reverse.
Installation
- When reusing the front panel, check that the tape is intact and secures correctly. Replace the tape if necessary.
- For a new front panel, remove the masking tape from the double-sided adhesive tape and press the front panel into place.
Install in reverse order.
Ordering software
Order the software. Software Downloading.
Finishing
After replacing the control module, the following must be carried out.
- Reprogram the customer programmed data.
- Carry out self-adjustment of the damper motor end positions.
- Test drive the car. Check that the function of the climate control system is OK.
- Then check that no diagnostic trouble codes have been stored during the replacement.
Information about programming the control module, damper motor self-adjustment and reading off diagnostic trouble codes can be found under VIDA vehicle communication.
Dashboard environment panel switches
Remove:
- the switches. See Replacing climate control unit switches Replacing Climate Control Unit Switches
Install:
In reverse order.