Operation CHARM: Car repair manuals for everyone.
Manuals through 2025 now available!

Our trusted friends have launched a new website named LEMON, which has newer manuals. It also contains all the CHARM manuals.

LEMON is the spiritual successor to CHARM, I recommend you try it!

Link: lemon-manuals.la or lemon-manuals.org.ua

(Some people have issue connecting. LEMON is investigating. For now, use Firefox or change your DNS server)

Or, hide this message: temporarily or permanently

Pistons




Pistons










Piston running clearance (example)







Measured cylinder diameter 83.015 mm
Measured piston diameter 82.995 mm
The piston running clearance is 0.020 mm
The piston running clearance must be 0.010 - 0.030 mm

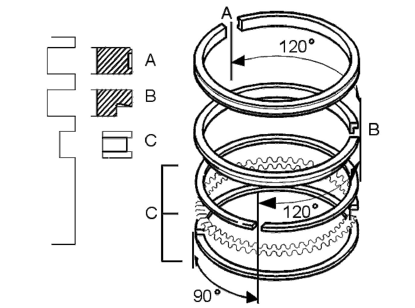
Piston rings

Axial clearance
Upper compression ring 0.030 - 0.070 mm
Lower compression ring 0.030 - 0.070 mm
Oil control ring assembly 0.038 - 0.142 mm

Compression ring dimension
Upper 1.200 -0.010/-0.030 mm
Lower 1.500 -0.010/-0.030 mm







Dimension, three piece oil ring
Spring 1.510 ± 0.020 mm
Rail 0.460 ± 0.011 mm

Piston pin
Diameter 21.000 +0/-0.004 mm
Length 57.0 +0/0.2 mm

Installing piston rings