Operation CHARM: Car repair manuals for everyone.
Manuals through 2025 now available!

Our trusted friends have launched a new website named LEMON, which has newer manuals. It also contains all the CHARM manuals.

LEMON is the spiritual successor to CHARM, I recommend you try it!

Link: lemon-manuals.la or lemon-manuals.org.ua

(Some people have issue connecting. LEMON is investigating. For now, use Firefox or change your DNS server)

Or, hide this message: temporarily or permanently

Volvo Guard Alarm System, Movement Sensor



Volvo Guard Alarm System, Movement Sensor


Volvo Guard Alarm System, Movement Sensor:






INTRODUCTION
- NOTE: Read through the whole installation instruction before starting the work.
- The front page gives the date of this edition and the edition it replaces
- The second page shows the tools needed for the installation and the contents of the installation kit
- The illustrations display the procedure in order of operation. The order of operation is repeated in the text section
- Cut out the text page in order to follow the illustrations and text at the same time.

Alarm, movement sensor

Preparations







- Turn the ignition switch to position 0.

NOTE: Wait at least three minutes before unplugging the connectors or removing other electrical equipment.







- Open the glovebox.
- Remove the panel in front of the centre console. It is secured by hidden clips, 4 pcs.







- Detach the rim around the display and the media player: Press in the catch at the edge of the media player cover. Use a small screwdriver and carefully pry off the rim at the corner. Use a plastic weatherstrip tool.

NOTE: Do not damage the panel and dashboard.

Repeat the operation on the other side.

HINT: If the panel is difficult to remove, press the panel on both sides again and repeat the procedure starting at the other side.

- Fold the surround backwards. Remove by pulling upwards.







- Remove the ignition control module (ICM). It is secured by hidden clips, 2 pcs.

HINT: Grip the control module with both hands and pull the control module straight out of the centre console.

- Disconnect the two connectors. Put the display to one side.







- Loosen the panel by the hand brake by carefully pulling it sideways.







- Fold up the tunnel console's armrest and remove the cover.







- Remove the screws.







- Remove the cup holder by prying at the trailing edge with a weatherstrip tool.







- Remove the rear seat cushion by first pressing the outer edges of the cushion backwards and then by pulling them upwards so that the outer hooks release.







- Lift the cushion straight up in the middle so that the inner hooks release.







- Remove the cup holder from the rear tunnel compartment by prying at the leading edge and pressing in the catches, first at the leading edge and then on the sides.







- Remove the screws.







- Remove the rear tunnel compartment by pulling it upward/rearward so that it releases from its retainers.







- Unplug the connector at the trailing edge of the tunnel console.







- Remove the front storage compartment by prying it off at the front edge using a weatherstrip tool and lifting it out.







- Remove the 2 screws along the front edge of the tunnel console.







- Carefully lift the catches at the front edge of the tunnel console.







- Pull the console backwards approximately 20 mm.







- Remove the screws.

Applies to cars with manual gearbox







- Remove the gear selector lever boot from the center console. First pry it off at the front edge using a weatherstrip tool and then unhook it at the rear edge.







- Remove the two screws.
- Remove the connector on the reverse of the center console.
- Remove the centre console.







- Lift up the tunnel console and pull it back slightly.
- Unplug the big grey connector at the front.







- Lift out the console and turn it upside down.

NOTE: Protect hand brake and gear lever when removing and installing the tunnel console.







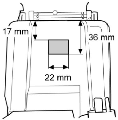
- Measure and mark up for slots at the leading edge on the cup holder compartment as shown.
- Cut out as marked.







- Carefully drill through the 2 screw turrets with a dia 2.5mm (3/32 inches) drill bit.

Installation







- Get movement sensor (Front) and 2 screws from the kit.
- Place the movement sensor in the cup holder compartment.







- Tighten down the movement sensor with the 2 screws.







- Remove the tape that holds the pre-wired, 5-pin green connector.







- Plug in the connector to the sensor.


Installing the rear movement sensor







- Localize the two studs on the floor under the back seat.







- Get movement sensor (Rear) and 2 nuts from the kit.
- Position the sensor on the studs and tighten down using the nuts.







- Remove the tape that holds the pre-wired 5-pin blue connector, and connect it to the sensor.

Finishing work







Reinstall:
- the tunnel console and the connectors at the front and rear. Only slide it ahead so far that the centre console's screws are accessible.
- the centre console with its screws, two up and two down.
- gear lever gaiter, starting at the trailing edge.
- tunnel console completely. Slide ahead so that the lock lug locks it into place.
- the panel at the parking brake.
- the two screws and the cover under the armrest.
- the ignition control module (ICM) with the connectors, screws and panel.
- front storage compartment inside of the center console.
- the panel inside the centre console.
- the rear tunnel console with its screws.
- cup holders.
- the rear seat cushion.

Programming
- Download the software for the accessory's function following the service information in VIDA.